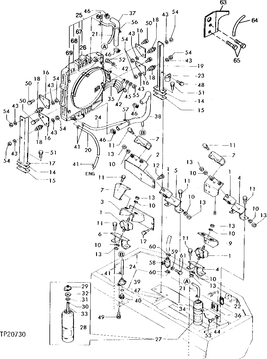
Запчасти John Deere 5 2 - ENGINE MOUNTS AND RADIATOR 540 - ENGINE AUXILIARY SYSTEM 5

Схема запчастей John Deere 5 - 2 - ENGINE MOUNTS AND RADIATOR 540 - ENGINE AUXILIARY SYSTEM 5
FIT
1:1
100%

Артикул

Название

Примечание

Количество

1

T110408

CUSHION

4шт.

2

AT110143

FRAME

1шт.

3

AT110144

FRAME

1шт.

4

AT110145

SUPPORT

2шт.

5

AT110146

SUPPORT

1шт.

6

AT110147

SUPPORT

1шт.

7

T110197

BRACKET

3шт.

8

AT110148

FRAME

1шт.

9

AT110149

FRAME

1шт.

10

12M7058

LOCK WASHER

12 MM, (SUB FOR 12M7067)

8шт.

11

12M7066

LOCK WASHER

10 MM

14шт.

19M7402

CAP SCREW

M10 X 25

14шт.

12

12M7058

LOCK WASHER

12 MM, (SUB FOR 12M7067)

16шт.

19M7268

CAP SCREW

M12 X 25

16шт.

13

14M7275

NUT

M12

8шт.

14

T110062

STRAP

2шт.

15

T110063

STRAP

2шт.

16

AT110010

SUPPORT

4шт.

17

AT110150

SUPPORT

1шт.

18

AT110011

SUPPORT

4шт.

19

AT111497

SUPPORT

(SUB FOR AT110151) (SUB AT111497, T111949, T111950, (2) 19M7932 AND (2) 12M7065)

1шт.

AT111497

SUPPORT

1шт.

20

T110284

HOSE

1шт.

21

T111143

HYDRAULIC HOSE

1шт.

22

AT110495

BRACKET

1шт.

23

AT110012

HOSE CLAMP

1шт.

24

T110087

HOSE

1шт.

25

AT110383

RADIATOR

1шт.

26

CH18207

FILLER CAP

(SUB FOR CH10427)

1шт.

27

T110798

TANK

1шт.

28

HOUSING

(SUB T110798)

1шт.

29

CAP

( T111611 NO LONGER AVAILABLE)

1шт.

30

CH10426

RETAINER

1шт.

31

SPACER

(SUB T110798)

1шт.

32

GASKET

(SUB T110798) ( T111613 NO LONGER AVAILABLE)

1шт.

33

T111614

OIL LINE

1шт.

34

CH10425

CLAMP

1шт.

35

T111690

WIRE

(SUB FOR AT110517, THIS APPLICATION)

1шт.

36

T110800

BRACKET

1шт.

37

T111006

HYDRAULIC HOSE

1шт.

38

T111007

HYDRAULIC HOSE

1шт.

39

T110999

HYD ACTUATED CONTROL VALVE

1шт.

40

CH10275

PLUG

1шт.

41

TY22462

CLAMP

(SUB FOR AR48236)

4шт.

42

24M7055

WASHER

8.400 X 16 X 1.600 MM

4шт.

43

12M7056

LOCK WASHER

8 MM, (SUB FOR 12M7065)

8шт.

44

12M7056

LOCK WASHER

8 MM, (SUB FOR 12M7065)

2шт.

45

12M7056

LOCK WASHER

8 MM, (SUB FOR 12M7065)

2шт.

46

TY22467

CLAMP

(SUB FOR CH10549 OR AT145650)

4шт.

47

CH10570

PACKING

1шт.

48

12M7056

LOCK WASHER

8 MM, (SUB FOR 12M7065)

1шт.

19M7932

CAP SCREW

M8 X 16

1шт.

49

12M7056

LOCK WASHER

8 MM, (SUB FOR 12M7065)

2шт.

19M7932

CAP SCREW

M8 X 16

2шт.

50

12M7056

LOCK WASHER

8 MM, (SUB FOR 12M7065)

8шт.

19M7881

SCREW

M8 X 20

8шт.

51

12M7066

LOCK WASHER

10 MM

4шт.

19M7168

CAP SCREW

M10 X 30

4шт.

52

19M7881

SCREW

M8 X 20

2шт.

53

T110468

SCREW

2шт.

54

14M7273

NUT

M8

8шт.

55

14M7273

NUT

M8

2шт.

56

T110612

TIE BAND

1шт.

57

T110612

TIE BAND

1шт.

Выбрано товаров: 64