Запчасти John Deere 5 4 - ENGINE MOUNTS AND RADIATOR 540 - ENGINE AUXILIARY SYSTEM 5

Схема запчастей John Deere 5 - 4 - ENGINE MOUNTS AND RADIATOR 540 - ENGINE AUXILIARY SYSTEM 5
FIT
1:1
100%

Артикул

Название

Примечание

Количество

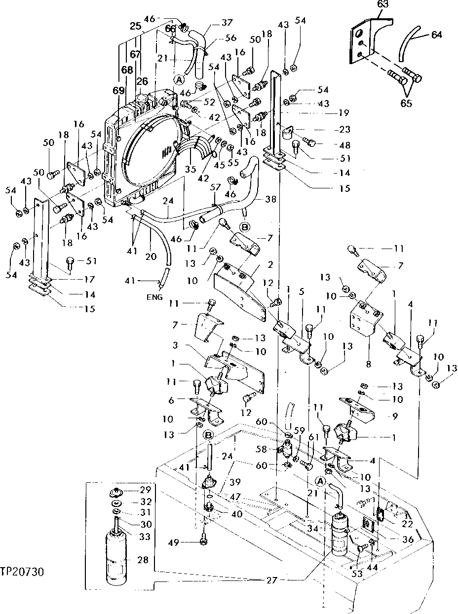
58

T111400

FILTER

1шт.

59

CH15392

WASHER

1шт.

60

WZ2141223

HOSE CLAMP

(SUB FOR CH16743 OR AR21837, THIS APPLICATION) (SUB FOR AA34965)

2шт.

61

19M8324

CAP SCREW

M10 X 16, (SUB FOR 19M7557, THIS APPLICATION)

1шт.

63

T111949

GUARD

1шт.

64

T111950

ISOLATOR

1шт.

65

19M7932

CAP SCREW

2шт.

12M7056

LOCK WASHER

(SUB FOR 12M7065)

2шт.

66

CH12782

HOSE CLAMP

2шт.

67

T114148

SHROUD

1шт.

68

T114149

RADIATOR

1шт.

69

12M7056

LOCK WASHER

8 MM, (SUB FOR 12M7065)

4шт.

19M7964

CAP SCREW

M8 X 12

4шт.

24M7036

WASHER

9 X 16 X 1.600 MM

4шт.

Выбрано товаров: 14