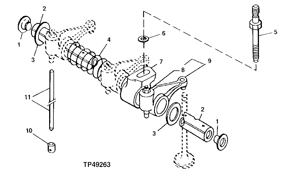
Запчасти John Deere 554 169 - 4902 ROCKER ARM SHAFT, PUSH RODS AND ROCKER ARMS 0400C Engine 6068HT064-RE528094 6068HT064

Схема запчастей John Deere 554 - 169 - 4902 ROCKER ARM SHAFT, PUSH RODS AND ROCKER ARMS 0400C Engine 6068HT064-RE528094 6068HT064
FIT
1:1
100%

Артикул

Название

Примечание

Количество

1

R54565

Plug

2шт.

2

Rocker Arm Shaft

ORDER RE548060

1шт.

3

T20316

Washer

2шт.

4

T20314

Spring

5шт.

5

R123271

Stud

6шт.

6

R42729

Washer

6шт.

7

R123161

Support

6шт.

8

14M7148

Nut

M10

1шт.

9

RE68695

Rocker Arm

12шт.

10

R123565

Follower

12шт.

11

R107731

Push Rod

12шт.

Выбрано товаров: 11