Запчасти John Deere 554 185 - 9901 WATER PUMP REPAIR KIT 0400C Engine 6068HT064-RE528094 6068HT064

Схема запчастей John Deere 554 - 185 - 9901 WATER PUMP REPAIR KIT 0400C Engine 6068HT064-RE528094 6068HT064
FIT
1:1
100%

Артикул

Название

Примечание

Количество

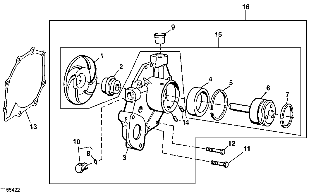
1

Impeller

(MARKED R123395)

1шт.

2

Seal

(MARKED R503509)

1шт.

3

Housing

1шт.

4

Ball Bearing

1шт.

5

Ring

1шт.

6

Shaft

1шт.

7

A364R

Snap Ring

1шт.

8

51M7043

O-Ring

15.300 X 2.200 mm

1шт.

9

R123226

Seal

1шт.

10

RE46685

Fitting Plug

1шт.

11

19M7863

Screw

M6 X 25

5шт.

12

19M7796

Screw

M6 X 30

3шт.

13

R123417

Gasket

1шт.

14

R100369

Filter

2шт.

15

RE70962

Engine Kit

1шт.

16

RE505980

Water Pump

(INCLUDES RE505980) ASSEMB LY, WATER PUMP (HIGH FLOW)

1шт.

SE501609

Water Pump Reman

(REMAN FOR RE505980)

1шт.

Выбрано товаров: 17