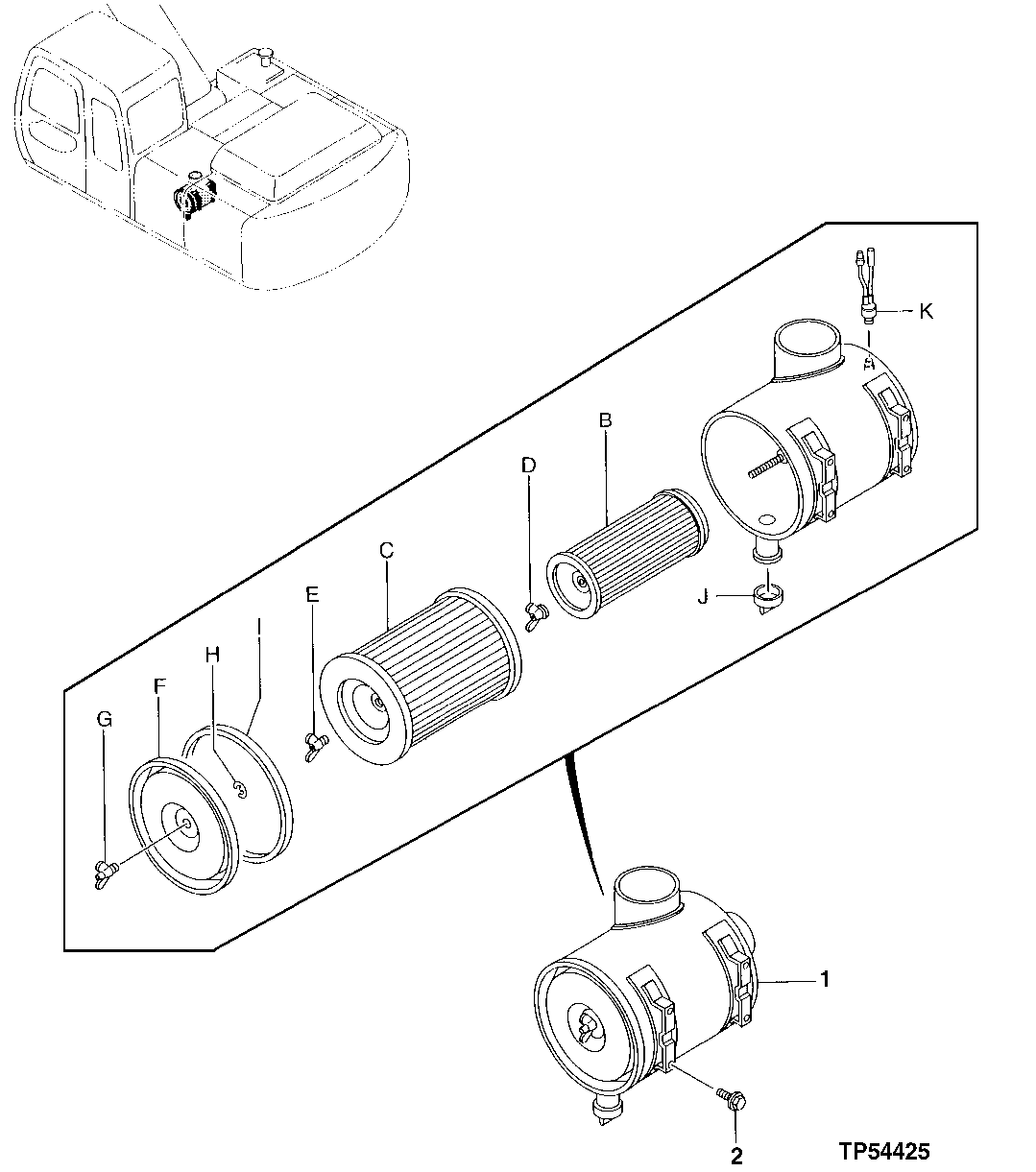
Запчасти John Deere 554 196 - AIR CLEANER (SN -200320) 0520 INTAKE SYSTEM

Схема запчастей John Deere 554 - 196 - AIR CLEANER (SN -200320) 0520 INTAKE SYSTEM
FIT
1:1
100%

Артикул

Название

Примечание

Количество

1

4288047

Air Cleaner

(SUB FOR AT155622)

1шт.

1B

T52224

Air Filter

1шт.

1C

T52223

Air Filter

1шт.

1D

AH20849

Wing Nut

1шт.

1E

AR73234

Wing Nut

11.125 mm (7/16")

1шт.

1F

AT50529

Cover

1шт.

1G

T251578

Wing Nut

(SUB FOR AR73234, THIS APPLICATION)

1шт.

1H

P46402

Snap Ring

1шт.

1I

2030811

Gasket

(SUB FOR T52222)

1шт.

1J

4152863

Flow Control Hyd. Valve

(SUB FOR TH111700)

1шт.

1K

4224238

Indicator

(SUB FOR AT131922)

1шт.

2

19M7662

Cap Screw

M10 X 30

4шт.

12M7066

Lock Washer

10 mm

4шт.

24M7028

Washer

10.500 X 20 X 2 mm

4шт.

Выбрано товаров: 14