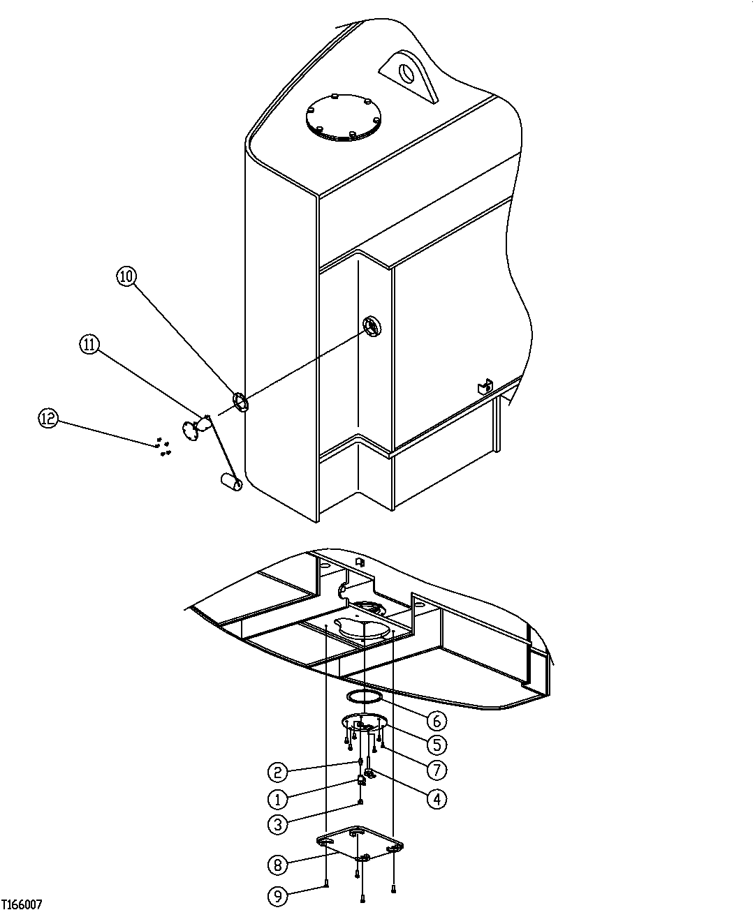
Запчасти John Deere 554 204 - FUEL TANK SUMP AND FUEL LEVEL FLOAT (SN -200065) 0560 EXTERNAL FUEL SUPPLY SYSTEMS

Схема запчастей John Deere 554 - 204 - FUEL TANK SUMP AND FUEL LEVEL FLOAT (SN -200065) 0560 EXTERNAL FUEL SUPPLY SYSTEMS
FIT
1:1
100%

Артикул

Название

Примечание

Количество

1

4374265

Drain Valve

(SUB FOR FFSB107797 ) (SUB FOR AT177419)

1шт.

2

94-1702

Adapter Fitting

(SUB FOR FFSB107798 ) (SUB FOR TH102949)

1шт.

3

94-2011

Fitting Plug

(SUB FOR FFSB107799 ) (SUB FOR TH100434)

1шт.

4

9726772

Fitting

1шт.

5

8067496

Cover

(SUB FOR FFSB107795)

1шт.

6

TH100679

O-Ring

(SUB FOR FFSB107796)

1шт.

7

19M7938

Cap Screw

M10 X 20 (SUB FOR FFSB107124)

6шт.

8

FFSB109087

Cover

1шт.

9

19M7662

Cap Screw

M10 X 30

4шт.

10

T155195

Gasket

(SUB FOR FFSB113250)

1шт.

11

4660782

Float

(SUB FOR FFSB109396 ) (SUB FOR AT154239, OR 4257128)

1шт.

12

21M7265

Screw

M5 X 12 (SUB FOR FFSB107789)

5шт.

Выбрано товаров: 12