Качественные детали и логистика
Оригинальные и аналоговые запчасти с доставкой по России, Казахстану и Беларуси
©2022 PartSell ООО "Система" ИНН 2463123282 ОГРН 1212400004838
Центральный офис: г. Красноярск, Академика Киренского, д.87, пом.4
Телефон: 8 (800) 777-65-74 Email: zakaz@partsell.ru
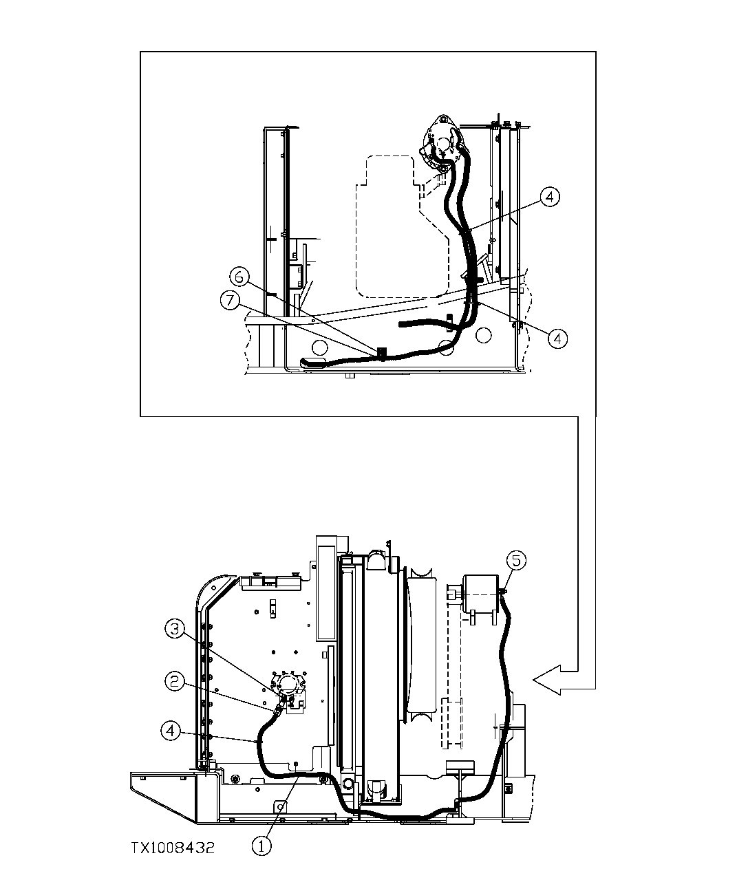
224 - 80 AMP ALTERNATOR CHARGE LEAD HARNESS (SN. -200269)
№
Артикул
Название
Примечание
Количество
1
FFSB108473
Wiring Harness
1шт.
2
4283562
Fuse
(SUB FOR FFSB103920)
3
19M7932
Cap Screw
M8 X 16 (SUB FOR FFSB107133)
4
H77698
Tie Band
(SUB FOR FFSB108110)
3шт.
5
14H849
Nut
7/16" (SUB FOR FFSB108366)
6
F053301
Holder
( FFSB102835 NLA)
7
19M7938
M10 X 20 (SUB FOR FFSB107124)
12M7066
Lock Washer
10 mm (SUB FOR FFSB107124)
Выбрано товаров: 0