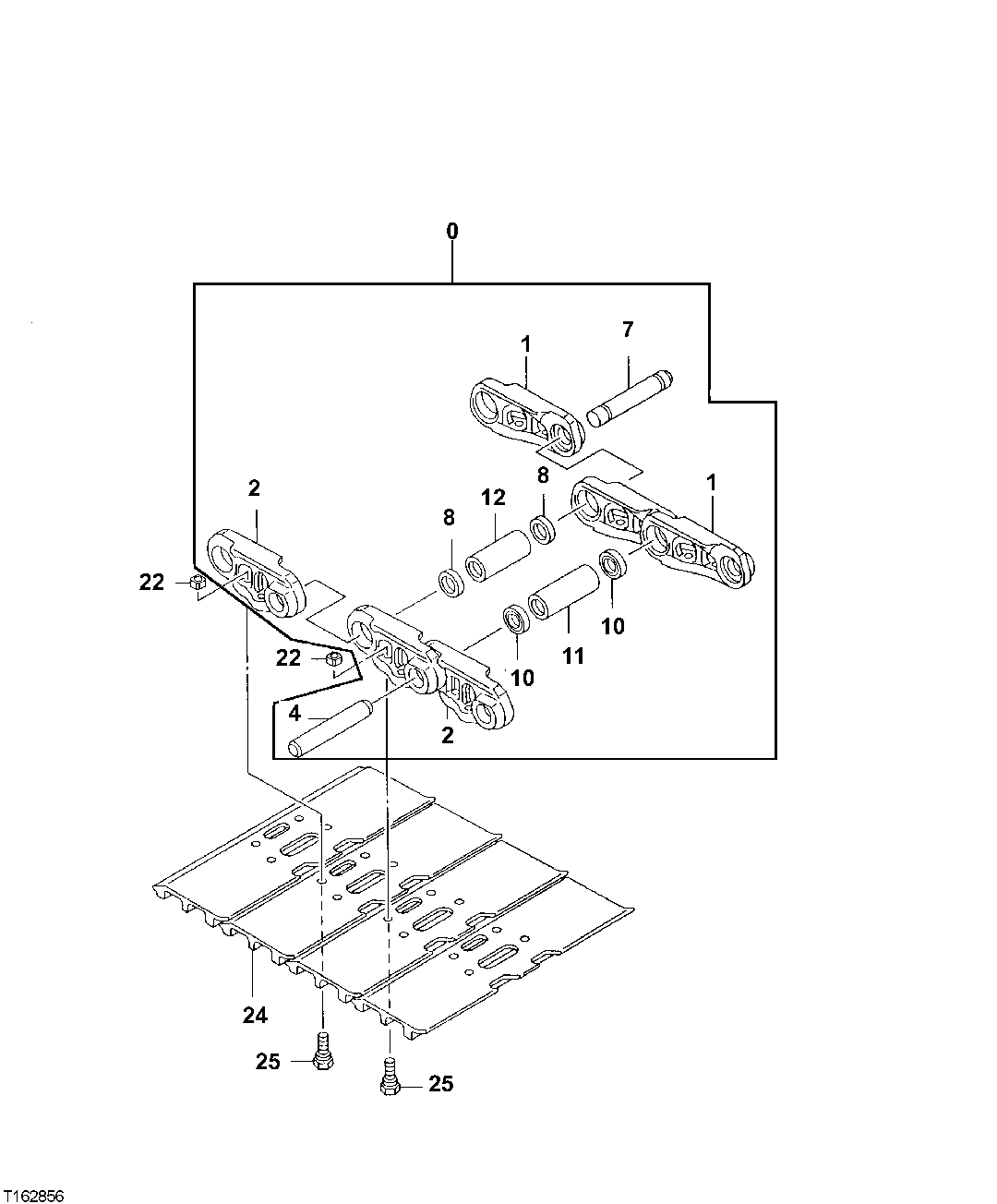
Запчасти John Deere 554 6 - Track Chain and Shoes (High Drawbar Pull) 0130 TRACK SYSTEMS

Схема запчастей John Deere 554 - 6 - Track Chain and Shoes (High Drawbar Pull) 0130 TRACK SYSTEMS
FIT
1:1
100%

Артикул

Название

Примечание

Количество

0

FFSB111198

Track Chain W/O Shoes

(QUANTITY OF 1 EACH SI DE OF UNIT) (49 LINKS)

1шт.

1

AT219480

Strutted LINK-RH

NLA, SUB 0005251R, SUB FOR (1) FFSB113381, RH

49шт.

0005251R

Track Link

RH

49шт.

2

AT219481

Strutted LINK-LH

NLA, SUB 0005252R, SUB FOR (1) FFSB113382, LH

49шт.

0005252R

Track Link

LH

49шт.

4

AT180030

Pin Fastener

(SUB FOR (1) FFSB113388) (SUB F OR FFSB113388)(CHAIN MASTER PIN)

1шт.

7

AT180028

Pin Fastener

(SUB FOR FFSB113385)

48шт.

8

AT186161

Seal

(SUB FOR FFSB113384)

98шт.

10

AT219471

Spacer

(SUB FOR (1) FFSB113387) (SUB FO R FFSB113387)(MASTER LINK SPACER)

2шт.

11

AT219468

Bushing

(SUB FOR (1) FFSB113386) (SUB FO R FFSB113386)(MASTER LINK BUSHING)

1шт.

12

AT186162

Bushing

(SUB FOR FFSB113383)

48шт.

22

T139615

Nut

(SUB FOR (1) FFSB111196) (SUB F OR FFSB111196)(EACH SIDE OF UNIT)

196шт.

24

FFSB113209

Double Bar Shoe

(EACH SIDE OF UNIT)

49шт.

25

T142594

Track Bolt

(SUB FOR (1) FFSB111195) (SUB FO R FFSB111195)(EACH SIDE OF UNIT)

196шт.

Выбрано товаров: 14