Запчасти John Deere 554 248 - ENGINE CONTROL UNIT ASSEMBLY (VEHICLE S.N. -200061) 1674 WIRING HARNESS AND SWITCHES

Схема запчастей John Deere 554 - 248 - ENGINE CONTROL UNIT ASSEMBLY (VEHICLE S.N. -200061) 1674 WIRING HARNESS AND SWITCHES
FIT
1:1
100%

Артикул

Название

Примечание

Количество

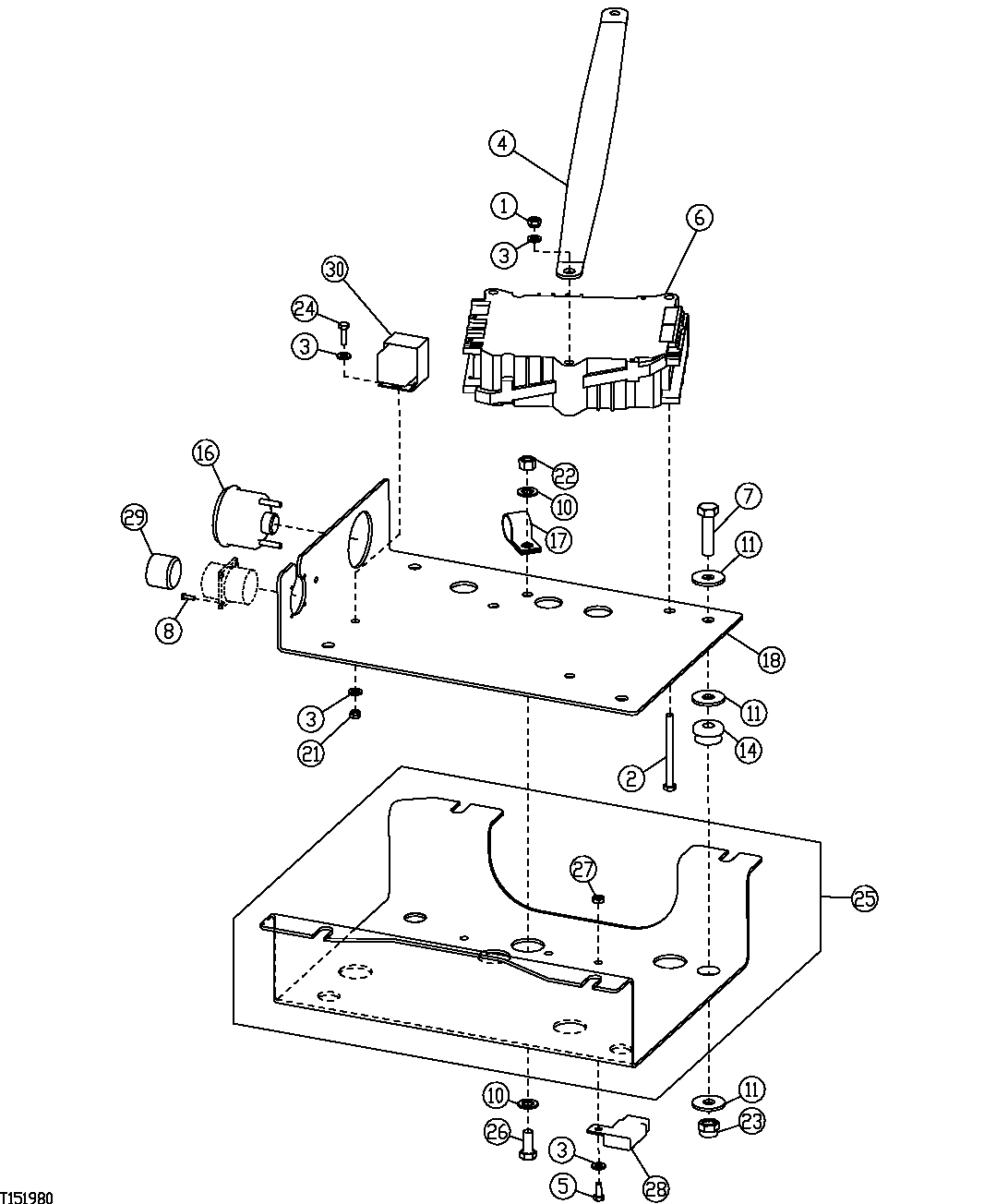
1

14M7165

Lock Nut

M6

3шт.

2

19M8786

Screw

M6 X 70

3шт.

3

24M7088

Washer

6.600 X 12 X 1.600 mm

8шт.

4

AT180705

Ground Cable

1шт.

5

19M7640

Cap Screw

M5 X 12

3шт.

6

RE506665

Circuit Box

1шт.

7

19M8637

Cap Screw

M10 X 40

4шт.

8

21M7394

Screw

M3 X 10

4шт.

10

24M7096

Washer

10.500 X 18 X 1.600 mm

2шт.

11

24M7296

Washer

10.500 X 30 X 2.500 mm

12шт.

14

AT116162

Isolator

4шт.

16

RE68155

Gauge

DIAGNOSTIC DISPLAY UNIT

1шт.

17

T78787

Clamp

2шт.

18

T184964

Plate

1шт.

21

14M7265

Lock Nut

M5

4шт.

22

14M7327

Lock Nut

M8

1шт.

23

14M7517

Lock Nut

M10

4шт.

24

19M7372

Cap Screw

M5 X 16

1шт.

25

AT197101

Cover

1шт.

26

19M7881

Screw

M8 X 20

1шт.

27

14M7442

Nut

M5

3шт.

28

99M7065

Fuse

3шт.

29

57M7477

Electrical Connector Cap

1шт.

30

AT162863

Relay

1шт.

Выбрано товаров: 24