Качественные детали и логистика
Оригинальные и аналоговые запчасти с доставкой по России, Казахстану и Беларуси
©2022 PartSell ООО "Система" ИНН 2463123282 ОГРН 1212400004838
Центральный офис: г. Красноярск, Академика Киренского, д.87, пом.4
Телефон: 8 (800) 777-65-74 Email: zakaz@partsell.ru
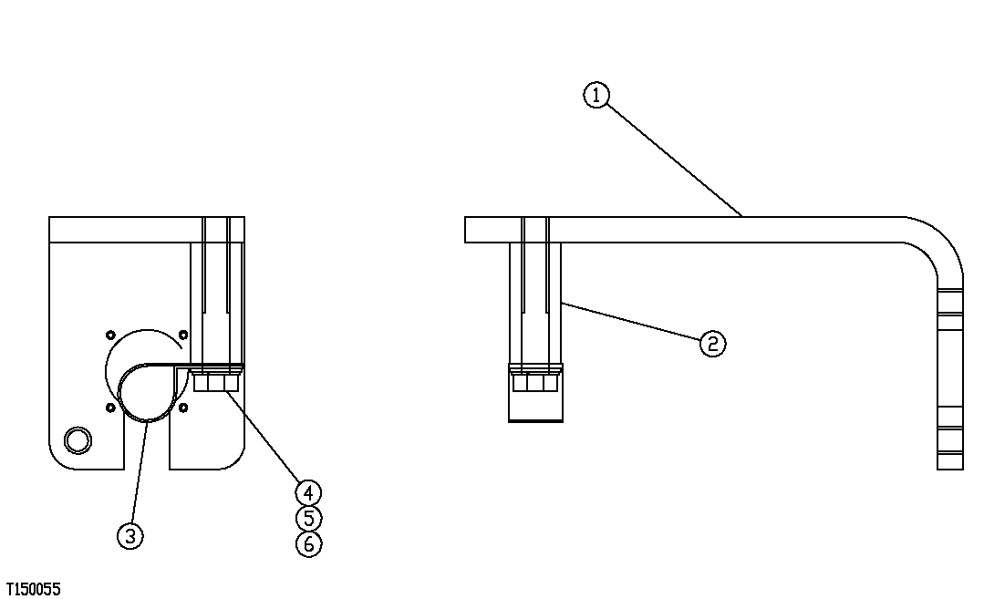
259 - VALVE IN HEAD WIRING HARNESS BRACKET (LOWER BOOM)
№
Артикул
Название
Примечание
Количество
1
FFSB108716
Bracket
1шт.
2
FFSB108717
Spacer
3
F053301
Holder
( FFSB102835 NLA)
4
19M7383
Cap Screw
M10 X 55 (SUB FOR FFSB1 07750)( FFSB107750 NLA)
5
24M7096
Washer
10.500 X 18 X 1.600 mm (SUB FOR FFSB107709)
6
12M7066
Lock Washer
10 mm (SUB FOR FFSB107409)
8шт.
Выбрано товаров: 0