Запчасти John Deere 554 264 - AIR CONDITIONER POWERED CONDENSER WIRING HARNESS 1674 WIRING HARNESS AND SWITCHES

Схема запчастей John Deere 554 - 264 - AIR CONDITIONER POWERED CONDENSER WIRING HARNESS 1674 WIRING HARNESS AND SWITCHES
FIT
1:1
100%

Артикул

Название

Примечание

Количество

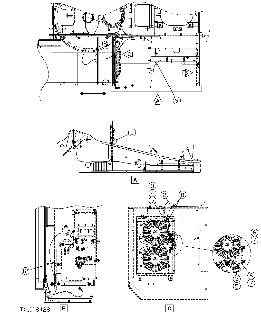
1

FFSB112177

Wiring Harness

1шт.

RE505214

Relay Module

24 V, 40 AMP, (SUB FOR FFSB112194)

1шт.

57M7121

Fuse

2шт.

2

19M7162

Cap Screw

M8 X 16 (SUB FOR AT214308 OR 437222 2 ) (ALSO ORDER 24M7036 AND 12M7065)

1шт.

24M7036

Washer

9 X 16 X 1.600 mm

1шт.

12M7065

Lock Washer

8 mm

1шт.

3

14M7272

Nut

M6

2шт.

4

24M7054

Washer

6.400 X 12 X 1.600 mm

1шт.

5

12M7006

Lock Washer

6 mm

2шт.

6

12M7064

Lock Washer

5 mm

2шт.

7

14M7297

Nut

M5

2шт.

8

H75541

Clamp

2шт.

9

R44302

Tie Band

10шт.

12

FFSB110195

Bolt

1шт.

Выбрано товаров: 14