Качественные детали и логистика
Оригинальные и аналоговые запчасти с доставкой по России, Казахстану и Беларуси
©2022 PartSell ООО "Система" ИНН 2463123282 ОГРН 1212400004838
Центральный офис: г. Красноярск, Академика Киренского, д.87, пом.4
Телефон: 8 (800) 777-65-74 Email: zakaz@partsell.ru
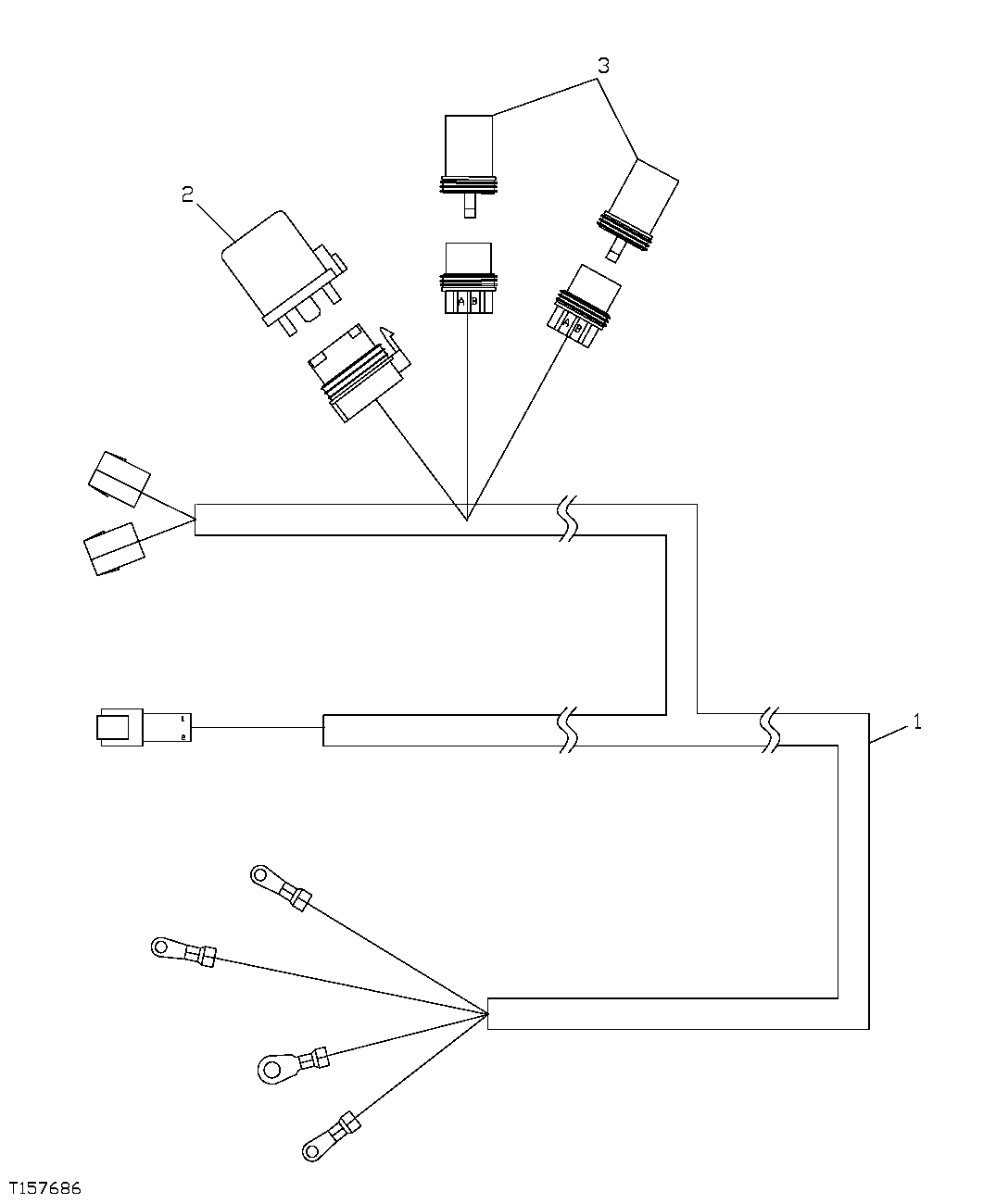
265 - POWERED CONDENSER HARNESS
№
Артикул
Название
Примечание
Количество
1
FFSB112177
Wiring Harness
( FFSB112195 NLA)
1шт.
2
RE505214
Relay Module
24 V, 40 AMP, (SUB FOR FFSB112194)
3
57M7121
Fuse
(SUB FOR FFSB105369)
2шт.
Выбрано товаров: 0