Запчасти John Deere 554 267 - SIDE ENTRY CAB WIRING HARNESS FOR VALVE IN HEAD (S.N. -200010) 1674B FORESTRY CAB WIRE HARNESS AND SWITCHES

Схема запчастей John Deere 554 - 267 - SIDE ENTRY CAB WIRING HARNESS FOR VALVE IN HEAD (S.N. -200010) 1674B FORESTRY CAB WIRE HARNESS AND SWITCHES
FIT
1:1
100%

Артикул

Название

Примечание

Количество

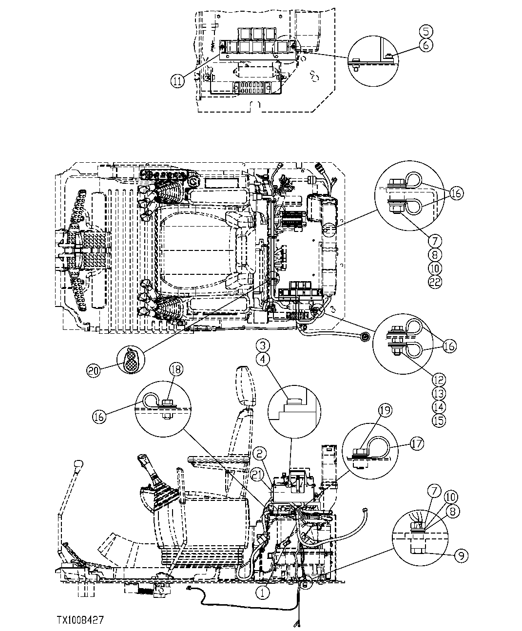
1

FFSB110056

Wiring Harness

1шт.

2

19M8425

Cap Screw

M6 X 16 (SUB FOR FFSB107905)

4шт.

3

24M7348

Washer

5.500 X 10 X 1 mm (SUB FOR FFSB107713)

2шт.

4

21M7271

Screw

M5 X 16 (SUB FOR FFSB108268)

2шт.

5

14M7297

Nut

M5 (SUB FOR FFSB105284)

2шт.

6

24M7348

Washer

5.500 X 10 X 1 mm (SUB FOR FFSB107713)

2шт.

7

14M7274

Nut

M10 (SUB FOR FFSB107411)

2шт.

8

24M7028

Washer

10.500 X 20 X 2 mm (SUB FOR FFSB107142)

2шт.

9

19M7382

Cap Screw

M10 X 40 (SUB FOR FFSB109189)

2шт.

10

12M7066

Lock Washer

10 mm (SUB FOR FFSB107409)

2шт.

11

FFSB110287

Elec. Connector Terminal

1шт.

12

19M8008

Cap Screw

M8 X 35 (SUB FOR FFSB110435)

1шт.

13

12M7065

Lock Washer

8 mm (SUB FOR FFSB103370)

1шт.

14

24M7055

Washer

8.400 X 16 X 1.600 mm (SUB FOR FFSB107966)

2шт.

15

14M7273

Nut

M8 (SUB FOR FFSB108151)

1шт.

16

XCL-14

Hose Clamp

(SUB FOR XCL-14)

5шт.

17

XCL-17

Hose Clamp

(SUB FOR FFSB105439)

1шт.

18

19M7881

Screw

M8 X 20 (SUB FOR FFSB107137)

1шт.

19

19M7938

Cap Screw

M10 X 20 (SUB FOR FFSB107124)

1шт.

20

R44302

Tie Band

(SUB FOR FFSB108110)

3шт.

21

FFSB110207

Fuse Box

1шт.

22

19M7382

Cap Screw

M10 X 40 (SUB FOR FFSB109189)

1шт.

Выбрано товаров: 22