Качественные детали и логистика
Оригинальные и аналоговые запчасти с доставкой по России, Казахстану и Беларуси
©2022 PartSell ООО "Система" ИНН 2463123282 ОГРН 1212400004838
Центральный офис: г. Красноярск, Академика Киренского, д.87, пом.4
Телефон: 8 (800) 777-65-74 Email: zakaz@partsell.ru
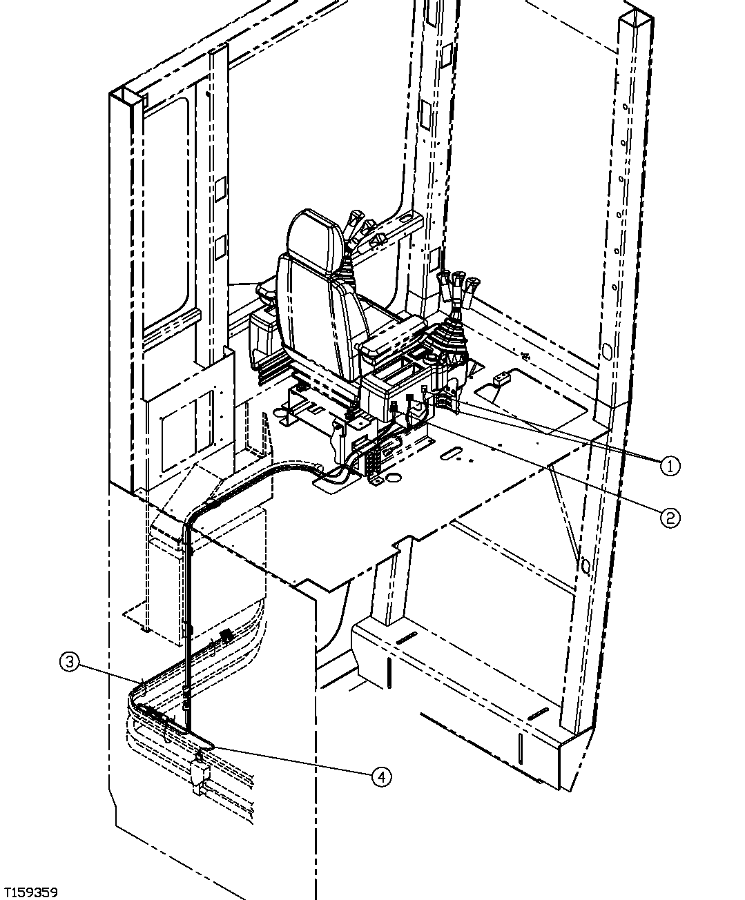
291 - REAR ENTRY CAB HEATER AND AIR CONDITIONER WIRING HARNESS
№
Артикул
Название
Примечание
Количество
1
FFSB112135
Wiring Harness
1шт.
2
FFSB103726
3
H77698
Tie Band
(SUB FOR FFSB108110)
3шт.
4
FFSB113455
(HEATER VALVE WIRING HARNESS)
Выбрано товаров: 0