Запчасти John Deere 554 325 - RIGHT AND LEFT SIDE HANDRAILS (BASE MACHINE) 1822 STEPS AND HANDHOLDS

Схема запчастей John Deere 554 - 325 - RIGHT AND LEFT SIDE HANDRAILS (BASE MACHINE) 1822 STEPS AND HANDHOLDS
FIT
1:1
100%

Артикул

Название

Примечание

Количество

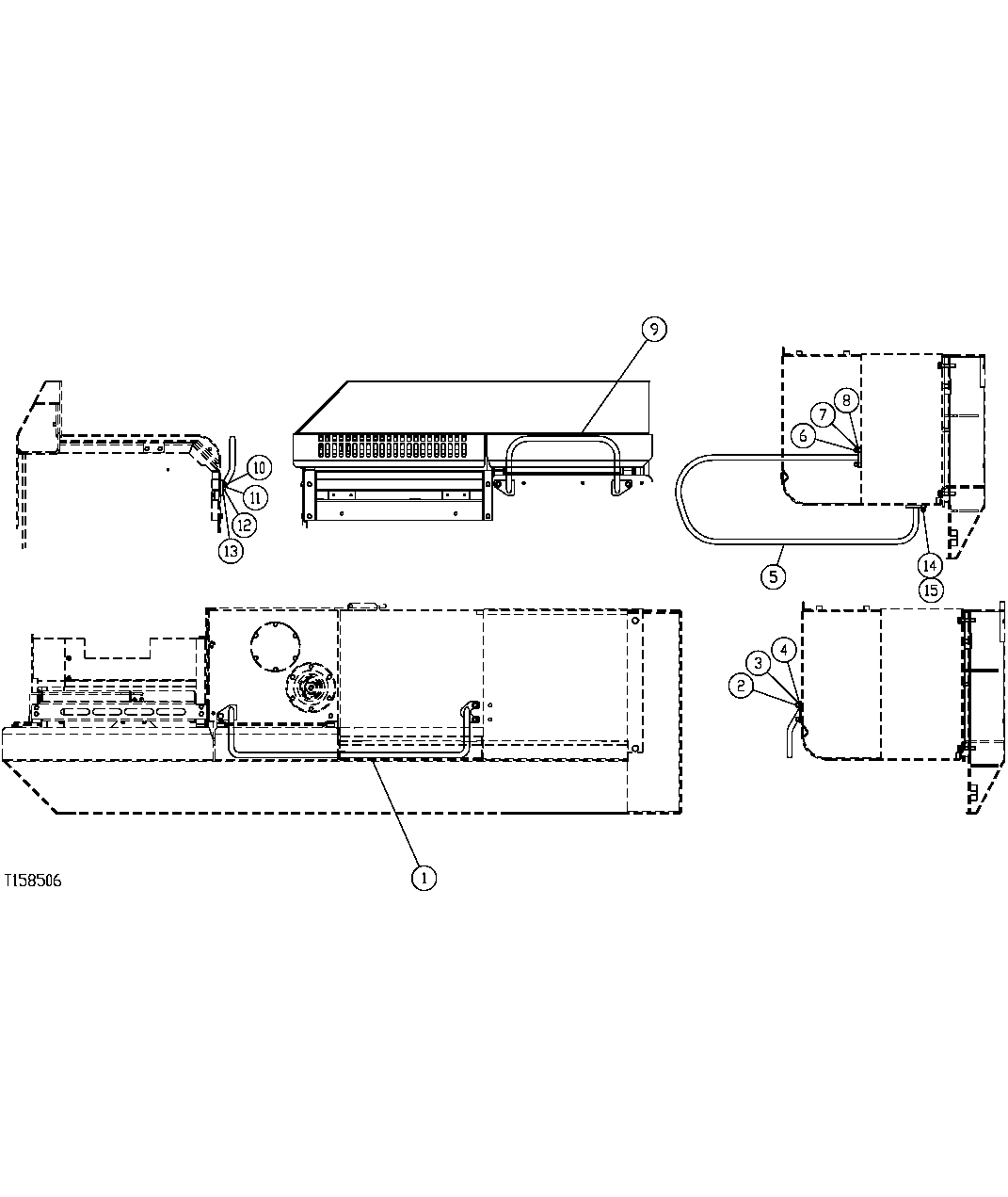
1

FFSB110230

Handrail

(SUB FOR FFSH110230)

1шт.

2

19M7073

Cap Screw

M12 X 50 (SUB FOR FFSH107149)

3шт.

3

12M7058

Lock Washer

12 mm (SUB FOR 12M7067)

3шт.

4

24M7047

Washer

13 X 24 X 2.500 mm

3шт.

5

FFSB110234

Handrail

1шт.

FFSB110891

Handrail

1шт.

6

19M7073

Cap Screw

M12 X 50 (SUB FOR FFSB107149)

3шт.

7

12M7058

Lock Washer

12 mm (SUB FOR 12M7067)

3шт.

8

24M7047

Washer

13 X 24 X 2.500 mm

3шт.

9

FFSB110253

Handrail

(SUB FOR FFSH110253)

1шт.

10

19M7073

Cap Screw

M12 X 50 (SUB FOR FFSB107149)

2шт.

11

12M7058

Lock Washer

12 mm (SUB FOR 12M7067)

2шт.

12

24M7047

Washer

13 X 24 X 2.500 mm

2шт.

13

24M7136

Washer

10.500 X 27 X 2 mm

4шт.

14

19M7403

Cap Screw

M12 X 35

1шт.

15

24M7047

Washer

13 X 24 X 2.500 mm

1шт.

Выбрано товаров: 0