Качественные детали и логистика
Оригинальные и аналоговые запчасти с доставкой по России, Казахстану и Беларуси
©2022 PartSell ООО "Система" ИНН 2463123282 ОГРН 1212400004838
Центральный офис: г. Красноярск, Академика Киренского, д.87, пом.4
Телефон: 8 (800) 777-65-74 Email: zakaz@partsell.ru
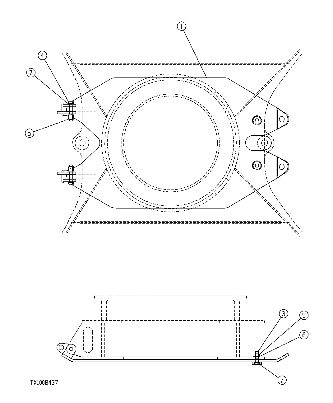
16 - TRACK FRAME BOTTOM COVER (SN. -200026)
№
Артикул
Название
Примечание
Количество
1
FFSB105081
Guard
(LOG LOADER APPLICATION)
1шт.
3
19M8288
Bolt
(SUB FOR FFSB105087)
2шт.
4
19M7937
Cap Screw
M24 X 140 (SUB FOR FFSB108863)
5
14M7278
Nut
M24 (SUB FOR FFSB109331)
6шт.
6
12H234
Lock Washer
1" (SUB FOR FFSB103636)
7
24M7091
Washer
26 X 44 X 4 mm (SUB FOR FFSB104212)
Выбрано товаров: 0