Запчасти John Deere 554 355 - SIDE ENTRY CAB DOOR LATCH (SN 200000-200481) 1810B FORESTRY CAB

Схема запчастей John Deere 554 - 355 - SIDE ENTRY CAB DOOR LATCH (SN 200000-200481) 1810B FORESTRY CAB
FIT
1:1
100%

Артикул

Название

Примечание

Количество

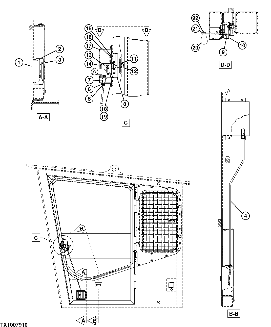
1

AT140572

Lock

(ALSO ORDER AT195302 ) (SUB FOR FFSB102701)

1шт.

AT195302

Key

(SUB FOR FFSB107833)

1шт.

2

T131059

Bracket

(SUB FOR FFSB102706)

2шт.

3

21H1317

Screw

0.190" X 5/8" ( FFSB107918 NLA)

4шт.

4

FFSB102970

Rod

1шт.

5

14H850

Nut

1/4" (SUB FOR FFSB107939)

2шт.

6

FFSB107938

Pin Fastener

2шт.

7

T150163

Yoke

(SUB FOR FFSB107937)

2шт.

8

AT165224

Latch

(SUB FOR FFSB102704)

1шт.

9

AR91896

Striker

(SUB FOR FFSB102702)

1шт.

10

T135583

Guard

(SUB FOR FFSB102708)

1шт.

11

24H1325

Washer

15/32" X 59/64" X 0.06 5" (SUB FOR FFSB107936)

1шт.

12

14H813

Nut

7/16" (SUB FOR FFSB107935)

1шт.

13

T150146

Extension Spring

(SUB FOR FFSB102705)

1шт.

14

T149220

Bracket

(SUB FOR FFSB102707)

1шт.

15

12H302

Lock Washer

1/4" (SUB FOR FFSB107933)

4шт.

16

21H1014

Screw

1/4" X 1" (SUB FOR FFSB107934)

4шт.

17

FFSB102967

Cover

1шт.

18

12M7130

Lock Washer

4.100 mm (SUB FOR FFSB107940)

4шт.

19

FFSB107941

Screw

4шт.

20

FFSB107932

Knob

1шт.

21

12H304

Lock Washer

3/8" (SUB FOR FFSB107931)

1шт.

22

19H1936

Cap Screw

3/8" X 3/4" (SUB FOR FFSB107930)

1шт.

Выбрано товаров: 0