Качественные детали и логистика
Оригинальные и аналоговые запчасти с доставкой по России, Казахстану и Беларуси
©2022 PartSell ООО "Система" ИНН 2463123282 ОГРН 1212400004838
Центральный офис: г. Красноярск, Академика Киренского, д.87, пом.4
Телефон: 8 (800) 777-65-74 Email: zakaz@partsell.ru
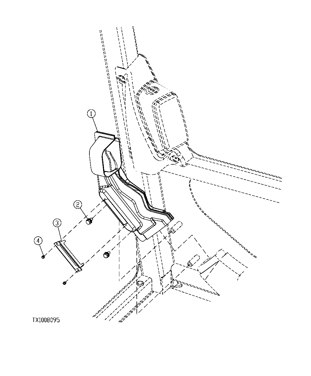
373 - SIDE ENTRY CAB RIGHT FRONT AIR DUCT
№
Артикул
Название
Примечание
Количество
1
FFSB110416
Air Duct
1шт.
2
19M8425
Cap Screw
M6 X 16 (SUB FOR FFSB107135)
2шт.
24M7293
Washer
6.500 X 13 X 1.600 mm
12M7006
Lock Washer
6 mm
3
AT177227
Louver
(SUB FOR FFSB110865)
4
FFSB110866
Screw
Выбрано товаров: 0