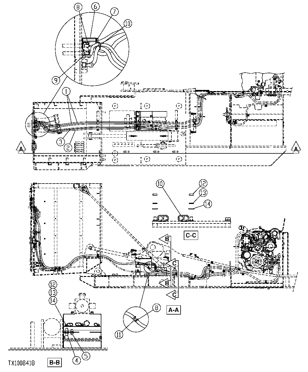
Запчасти John Deere 554 374 - SIDE ENTRY CAB HEATER AND AIR CONDITIONER HOSES (48 INCH RISER) 1830B SIDE ENTRY CAB HEATING AND AIR CONDITIONING

Схема запчастей John Deere 554 - 374 - SIDE ENTRY CAB HEATER AND AIR CONDITIONER HOSES (48 INCH RISER) 1830B SIDE ENTRY CAB HEATING AND AIR CONDITIONING
FIT
1:1
100%

Артикул

Название

Примечание

Количество

1

TY22328

Bulk Hose

(CTL 3900MM) (SUB FOR FFSB110543)

2шт.

2

FFSB110544

Refrigerant Hose

(HOSE-10) (BULKHEAD TO EVAPORATOR)

1шт.

3

FFSB110545

Refrigerant Hose

(HOSE-6) (BULKHEAD TO EVAPORATOR)

1шт.

4

FFSB110573

Adapter Fitting

1шт.

5

FFSB110574

Adapter Fitting

1шт.

6

FFSB107369

Nut

1шт.

7

19M7402

Cap Screw

M10 X 25 (SUB FOR FFSB107365)

1шт.

24M7296

Washer

10.500 X 30 X 2.500 mm (SUB FOR FFSB107365)

2шт.

12M7066

Lock Washer

10 mm (SUB FOR FFSB107365)

1шт.

8

FFSB102829

Clamp

8шт.

9

FFSB110329

Adapter Fitting

2шт.

10

FFSB107516

Clamp

10шт.

11

FFSB110575

Adapter Fitting

2шт.

12

14M7274

Nut

M10 (SUB FOR FFSB107411)

4шт.

13

12M7066

Lock Washer

10 mm (SUB FOR FFSB107409)

4шт.

14

24M7096

Washer

10.500 X 18 X 1.600 mm (SUB FOR FFSB107709)

4шт.

Выбрано товаров: 16