Запчасти John Deere 554 416 - REAR ENTRY CAB HEATER AND AIR CONDITIONER UNIT MOUNTING (WITH CAB RISER) 1830C REAR ENTRY CAB HEATING AND AIR CONDITIONING

Схема запчастей John Deere 554 - 416 - REAR ENTRY CAB HEATER AND AIR CONDITIONER UNIT MOUNTING (WITH CAB RISER) 1830C REAR ENTRY CAB HEATING AND AIR CONDITIONING
FIT
1:1
100%

Артикул

Название

Примечание

Количество

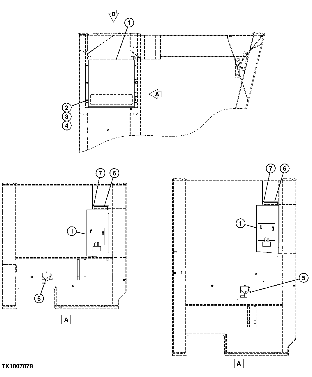
1

FFSB109074

Evaporator

1шт.

2

19M7286

Cap Screw

M6 X 25 (SUB FOR FFSB108287 AND J900625)

6шт.

3

24M7054

Washer

6.400 X 12 X 1.600 mm (SUB FOR FFSB107438 AND J250006)

6шт.

4

12M7006

Lock Washer

6 mm (SUB FOR FFSB107439 AND J252106)

6шт.

5

FFSB113454

Thermostatic Control Valve

1шт.

6

FFSB102834

Weatherstrip

435 mm, (CTL) (SUB FOR FFSB112156, FFSB112178)

2шт.

7

TY22328

Bulk Hose

1770 mm, (CTL) (SUB FOR FFSB112157)

2шт.

Выбрано товаров: 0