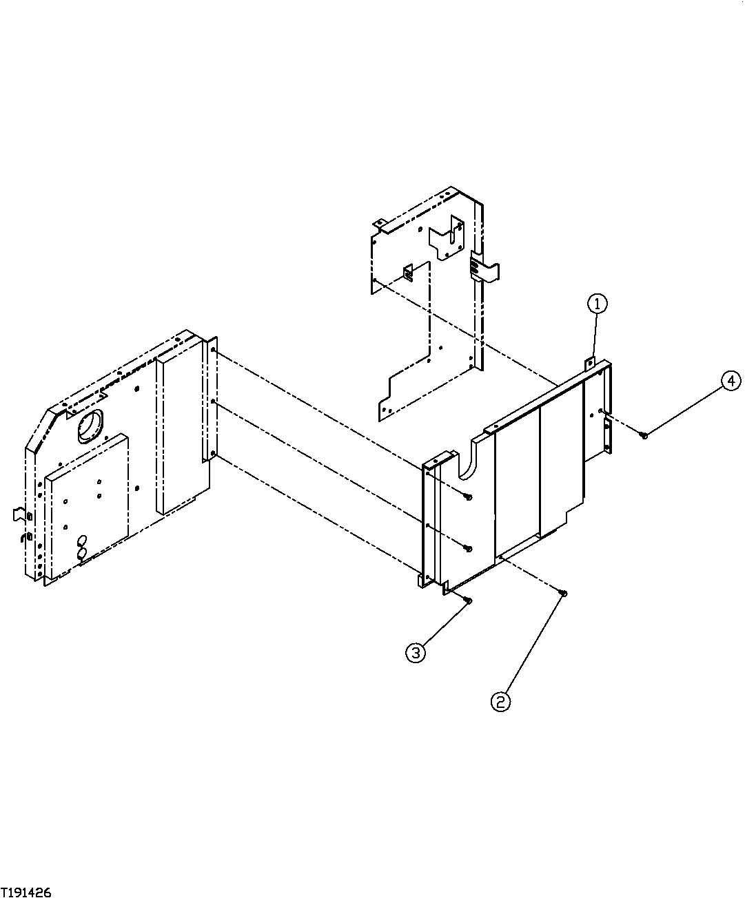
Запчасти John Deere 554 427 - ENGINE FRONT PANEL MOUNTING 1910 HOOD OR ENGINE ENCLOSURE

Схема запчастей John Deere 554 - 427 - ENGINE FRONT PANEL MOUNTING 1910 HOOD OR ENGINE ENCLOSURE
FIT
1:1
100%

Артикул

Название

Примечание

Количество

1

DH700062

Panel

(SUB FOR FFSB110568)

1шт.

2

19M7550

Cap Screw

M10 X 35

5шт.

12M7066

Lock Washer

10 mm

5шт.

24M7346

Washer

11 X 20 X 2 mm

5шт.

3

19M7662

Cap Screw

M10 X 30

1шт.

12M7067

Lock Washer

12 mm

1шт.

24M7346

Washer

11 X 20 X 2 mm

1шт.

4

19M7358

Cap Screw

M10 X 40 (SUB FOR J031040)

2шт.

12M7066

Lock Washer

10 mm

2шт.

24M7296

Washer

10.500 X 30 X 2.500 mm

1шт.

Выбрано товаров: 10