Запчасти John Deere 554 445 - RIGHT SIDE REAR VIEW MIRROR AND MOUNTING 2000 SAFETY, CONVENIENCE AND MISCELLANEOUS

Схема запчастей John Deere 554 - 445 - RIGHT SIDE REAR VIEW MIRROR AND MOUNTING 2000 SAFETY, CONVENIENCE AND MISCELLANEOUS
FIT
1:1
100%

Артикул

Название

Примечание

Количество

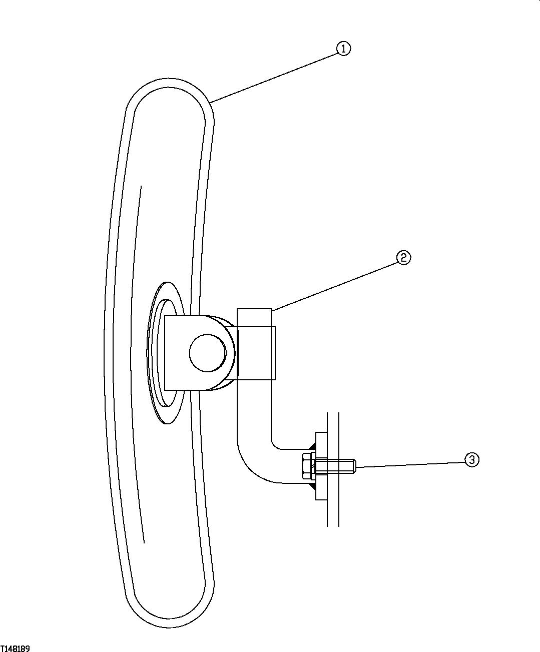
1

4420724

Rear View Mirror

(SUB FOR FFSB106984)

1шт.

2

FFSB108050

Support

1шт.

3

Cap Screw

(SUB 19M7163 AND 12M7065)( FFSB10 7119 NOT USED ON THIS APPLICATION)

2шт.

19M7163

Cap Screw

M8 X 25 (SUB FOR FFSB109186)

1шт.

12M7065

Lock Washer

8 mm (SUB FOR FFSB103370)

1шт.

Выбрано товаров: 0