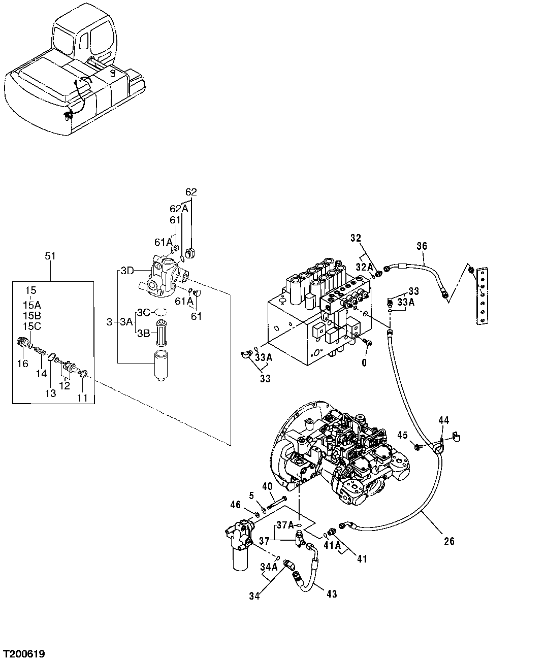
Запчасти John Deere 554 511 - PILOT FILTER AND HOSES (PILOT FILTER TO SOLENOID VALVE, PUMP) 3360 HYDRAULIC SYSTEM

Схема запчастей John Deere 554 - 511 - PILOT FILTER AND HOSES (PILOT FILTER TO SOLENOID VALVE, PUMP) 3360 HYDRAULIC SYSTEM
FIT
1:1
100%

Артикул

Название

Примечание

Количество

0

19M7576

Screw

M10 X 30 SUB FOR J781030

2шт.

3

4611025

Oil Filter

SUB FOR 4408959

1шт.

3A

AT186554

Filter Element

SUB FOR 4370435 OR AT214263

1шт.

3B

Filter Element

4191301 NLA

1шт.

3C

TH105683

O-Ring

1шт.

3D

4472430

Pressure Relief Valve

1шт.

5

12M7066

Lock Washer

10 mm

2шт.

11

4487648

Gasket

SUB FOR 0308704

1шт.

12

0308703

Pressure Relief Valve

1шт.

13

4487138

O-Ring

SUB FOR 0308705

1шт.

14

Spring

1шт.

15

9228867

Shim

SUB FOR 4293211

1шт.

15A

4606473

Shim

SUB FOR 4309836

2шт.

15B

4487297

Shim

SUB FOR 4309837

2шт.

15C

Shim

4309838 NLA

2шт.

15D

4601120

Shim

2шт.

16

0308709

Fitting Plug

1шт.

26

4427358

Hydraulic Hose

SUB FOR TH4427358

1шт.

32

4200466

Adapter Fitting

SUB FOR THA852133 AND TH108320

1шт.

32A

CH11570

O-Ring

13.800 X 2.400 mm (0.543" X 3/32")

1шт.

33

A852333

Elbow Fitting

SUB FOR THA852333, TH101047 AND 4154671

2шт.

33A

CH11570

O-Ring

13.800 X 2.400 mm (0.543" X 3/32")

1шт.

34

A852344

Elbow Fitting

1шт.

34A

4506418

O-Ring

17.800 X 2.400 mm (0.701 " X 3/32") SUB FOR U46489

1шт.

36

4436575

Hydraulic Hose

SUB FOR TH4436575

1шт.

37

4445981

Tee Fitting

(SUB FOR P68010)

1шт.

37A

4506418

O-Ring

17.800 X 2.400 mm (0.701 " X 3/32") SUB FOR U46489

1шт.

40

19M8166

Cap Screw

M10 X 110

2шт.

41

A852143

Adapter Fitting

SUB FOR THA852143

1шт.

41A

4506418

O-Ring

17.800 X 2.400 mm (0.701 " X 3/32") SUB FOR U46489

1шт.

43

4450081

Hydraulic Hose

SUB FOR TH4450081

1шт.

44

XCL-29

Hose Clamp

SUB FOR TH110522 OR 4193848

1шт.

45

19M7938

Cap Screw

M10 X 20

1шт.

12M7066

Lock Washer

10 mm

1шт.

46

24M7028

Washer

10.500 X 20 X 2 mm

2шт.

51

0709701

Pressure Relief Valve

1шт.

61

4174541

Fitting

2шт.

61A

M800650

Packing

1шт.

62

A885002

Plug

1шт.

62A

4506418

O-Ring

17.800 X 2.400 mm (0.701" X 3/32")

1шт.

Выбрано товаров: 40