Запчасти John Deere 554 513 - PILOT PRESSURE SWITCH 3360 HYDRAULIC SYSTEM

Схема запчастей John Deere 554 - 513 - PILOT PRESSURE SWITCH 3360 HYDRAULIC SYSTEM
FIT
1:1
100%

Артикул

Название

Примечание

Количество

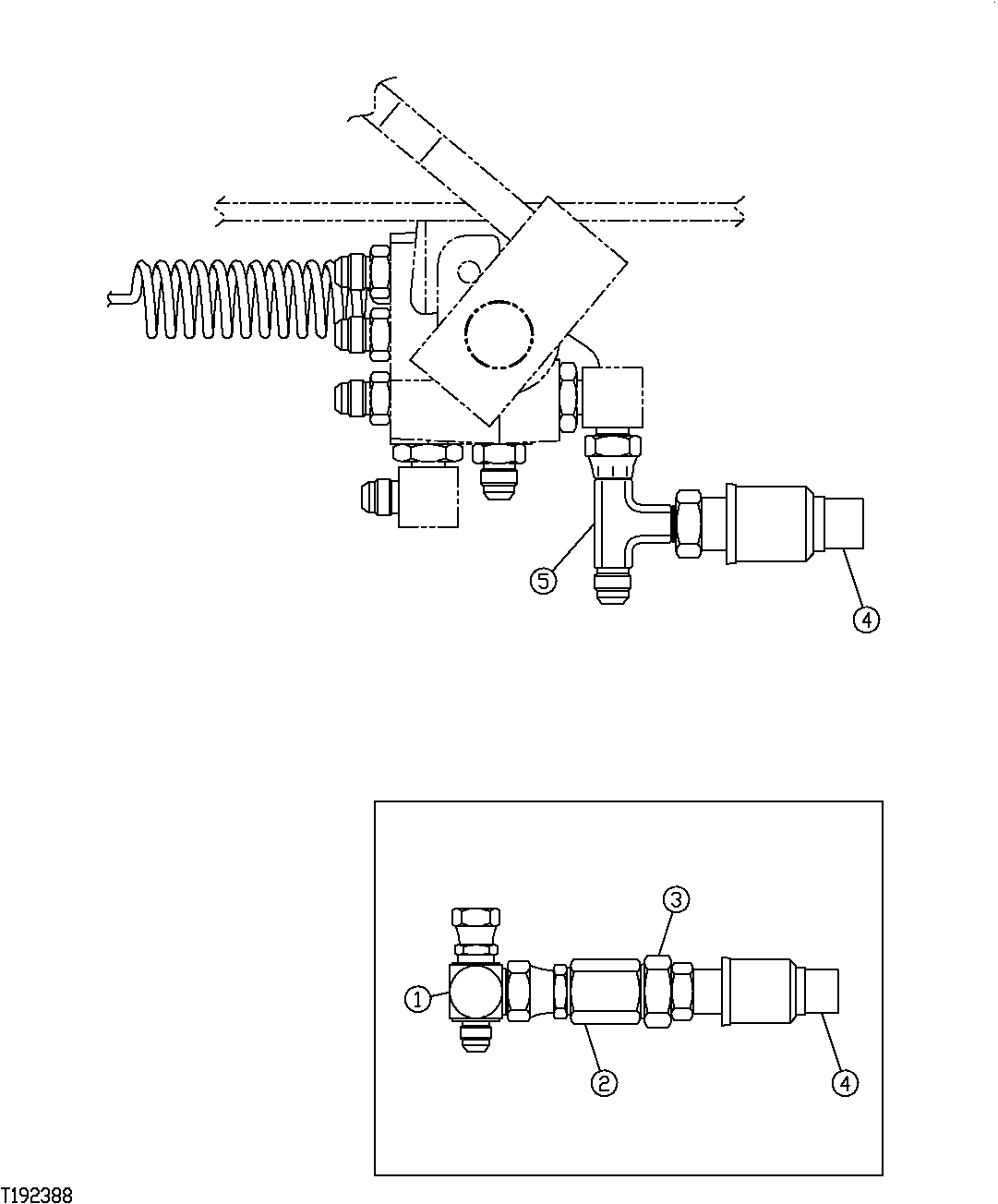
1

AT36921

Tee Fitting

(SUB FOR FFSB104940)

1шт.

2

FFSB102173

Adapter Fitting

1шт.

3

FFSB102268

Adapter Fitting

1шт.

4

4254563

Pressure Switch

(SUB FOR FFSB109785)

1шт.

5

FFSB113354

Tee Fitting

1шт.

Выбрано товаров: 5