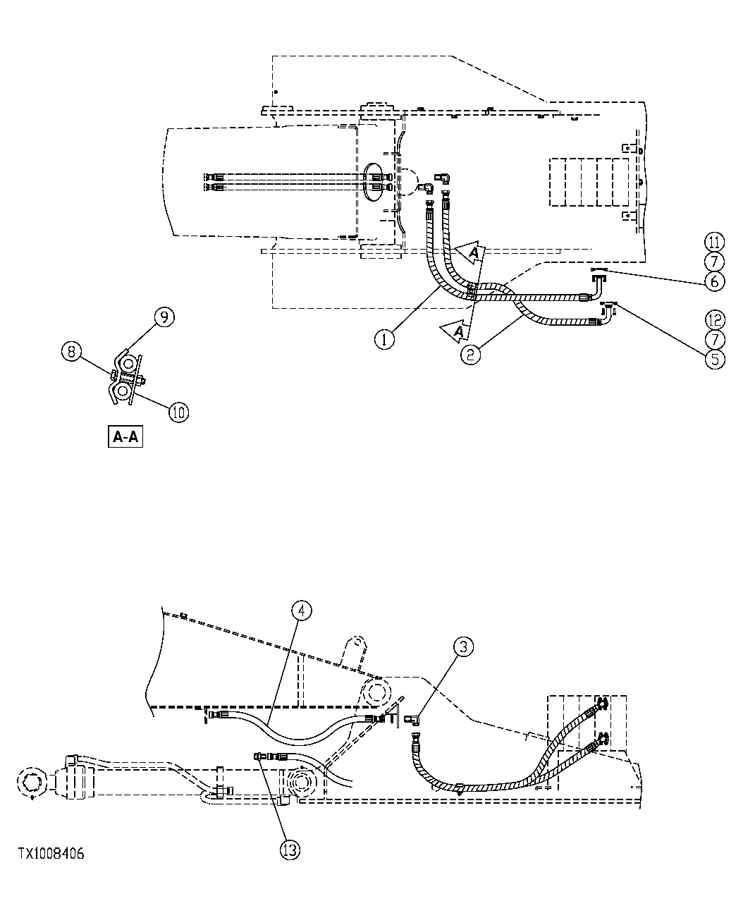
Запчасти John Deere 554 519 - CONTROL VALVE TO BOOM LINE HOSES (LOG LOADER ARM CYLINDER) 3360 HYDRAULIC SYSTEM

Схема запчастей John Deere 554 - 519 - CONTROL VALVE TO BOOM LINE HOSES (LOG LOADER ARM CYLINDER) 3360 HYDRAULIC SYSTEM
FIT
1:1
100%

Артикул

Название

Примечание

Количество

1

FFSB110183

Hose

(SUB FOR FFSB110213)

1шт.

Cover

(MAKE FROM XHG-125 (CTL) 1100MM (43.30"))

1шт.

2

FFSB110161

Hose

(SUB FOR FFSB110214)

1шт.

Cover

( FFSB110215 NLA) (MAKE FROM XHG-125 (CTL) 1100MM (43.30"))

1шт.

3

38H1456

Elbow Fitting

(SUB FOR FFSB102228)

2шт.

T78715

Nut

2шт.

T76938

O-Ring

4шт.

4

FFSB103310

Hydraulic Hose

2шт.

5

H61354

Flange Fitting

(SUB FOR FFSB110184)

2шт.

6

XM1H-12

Flange Fitting

(SUB FOR FFSB103504)

2шт.

7

19M7576

Screw

M10 X 30 (SUB FOR J781030)

8шт.

8

19M8348

Cap Screw

M12 X 65 (SUB FOR FFSB106424)

1шт.

12H301

Lock Washer

1/2"

1шт.

9

4202103

Clamp

(SUB FOR FFSB108769)

1шт.

10

9736782

Clamp

(SUB FOR FFSB108770)

1шт.

11

X711510-5

O-Ring

(SUB FOR FFSB103505)

1шт.

12

T78313

O-Ring

(SUB FOR FFSB106430)

1шт.

13

38H1194

Adapter Fitting

(SUB FOR FFSB103502)

4шт.

R29936

O-Ring

4шт.

T77858

O-Ring

4шт.

Выбрано товаров: 20