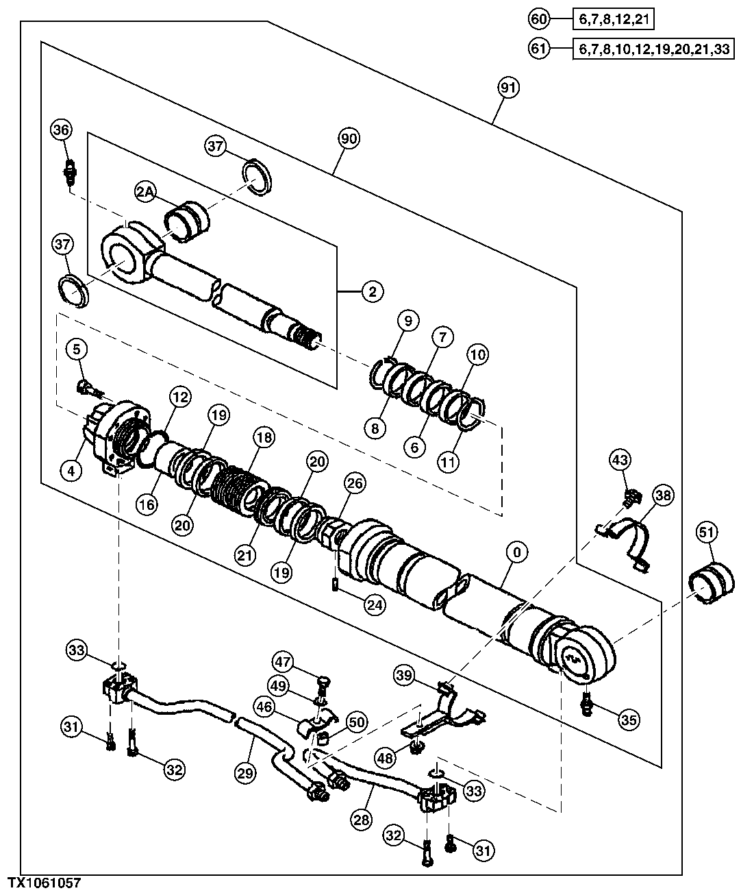
Запчасти John Deere 554 524 - Right Boom Cylinder (Log Loader) ( - 200416) 3360 HYDRAULIC SYSTEM

Схема запчастей John Deere 554 - 524 - Right Boom Cylinder (Log Loader) ( - 200416) 3360 HYDRAULIC SYSTEM
FIT
1:1
100%

Артикул

Название

Примечание

Количество

0

Hydraulic Cylinder Barrel

( 7039099 NLA)

1шт.

2

Hydraulic Cylinder Rod

( 7039094 NLA)

1шт.

2A

0237108

Bushing

(SUB FOR FFSB115040)

1шт.

4

1015435

Hydr. Cylinder Rod Guide

(SUB FOR FFSB109049)

1шт.

5

19M8630

Screw

M24 X 80 (SUB FOR FFSB109050)

8шт.

6

AT264294

Seal

(SUB FOR FFSB109051, AT217969, 4348201)

1шт.

7

AT264408

Seal

(SUB FOR FFSB109052, TH111216)

1шт.

8

4389326

Ring

(SUB FOR FFSB109053 ) (SUB FOR AT264409 ) (SUB FOR AT201003)

1шт.

9

4369508

Ring

(SUB FOR FFSB109054)

1шт.

10

AT217959

Wear Ring

(SUB FOR FFSB109055, 4272962)

1шт.

11

4264982

Snap Ring

(SUB FOR FFSB109056)

1шт.

12

AT264268

O-Ring

(SUB FOR FFSB109057, AT154722)

1шт.

16

4264978

Spacer

(SUB FOR FFSB109058)

1шт.

18

3052363

Piston

(SUB FOR FFSB109059)

1шт.

19

AT264397

Ring

(SUB FOR FFSB109060, 4185246, TH110033)

2шт.

20

AT264266

Wear Ring

(SUB FOR FFSB109061, 4252191)

2шт.

21

AT264297

Seal

(SUB FOR FFSB109062, AT218148)

1шт.

24

4201805

Set Screw

(SUB FOR FFSB109063)

1шт.

26

3063059

Nut

(SUB FOR FFSB109064)

1шт.

28

8081546

Line

(SUB FOR FFSB109072)

1шт.

29

8081548

Line

(SUB FOR FFSB109073)

1шт.

31

19M8341

Screw

M12 X 45 (SUB FOR FFSB107236)

4шт.

32

19M8444

Screw

M12 X 60 (SUB FOR FFSB107237)

4шт.

33

AT264324

O-Ring

(SUB FOR FFSB107238, TH100044)

2шт.

35

TH100074

Lubrication Fitting

(SUB FOR FFSB107233)

1шт.

36

JD7769

Lubrication Fitting

(SUB FOR TH100364)

1шт.

37

TH102411

Seal

(SUB FOR FFSB109384)

2шт.

38

3049761

Clamp

(SUB FOR FFSB109068)

1шт.

39

8081558

Clamp

(SUB FOR FFSB109069)

1шт.

43

19M7550

Cap Screw

M10 X 35 (SUB FOR FFSB107241)

2шт.

12M7066

Lock Washer

10 mm

2шт.

46

4443497

Clamp

(SUB FOR FFSB109070)

1шт.

47

19M8348

Cap Screw

M12 X 65 (SUB FOR FFSB107244)

1шт.

48

14M7275

Nut

M12 (SUB FOR FFSB107245)

1шт.

49

12H301

Lock Washer

1/2" (SUB FOR FFSB107139)

1шт.

50

4410980

Spacer

(SUB FOR FFSB107243)

1шт.

51

FFSB106710

Bushing

1шт.

60

9180587

Hydraulic Cylinder Kit

Seal Kit If Additional Seals Are Required, Order As Separate Items

1шт.

61

AT264437

Hydraulic Cylinder Kit

Seal Kit NLA, ORDER 9180587 SUB FOR AT218042 AND 9161917

1шт.

90

Hydraulic Cylinder

( 9218634, FFSB110793 NLA) (SUB 4656437)

1шт.

91

Hydraulic Cylinder

( FFSB104898, 9193958 NLA) (SUB 4641543)

1шт.

Выбрано товаров: 41