Запчасти John Deere 554 535 - HEELER TILT CYLINDER OIL LINES (SN 200016-200051) 3360 HYDRAULIC SYSTEM

Схема запчастей John Deere 554 - 535 - HEELER TILT CYLINDER OIL LINES (SN 200016-200051) 3360 HYDRAULIC SYSTEM
FIT
1:1
100%

Артикул

Название

Примечание

Количество

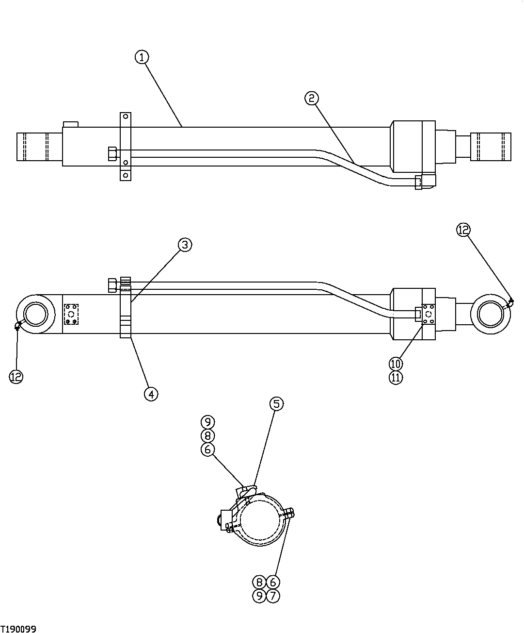
1

Hydraulic Cylinder

(SUB AH207408)( FFSB111965 NLA)

1шт.

2

FFSB109842

Oil Line

1шт.

3

FFSB111966

Clamp

1шт.

4

FFSB111967

Clamp

1шт.

5

4190126

Clamp

(SUB FOR FFSB108708)

1шт.

6

19M7363

Cap Screw

M12 X 60 (SUB FOR FFSB109215)

3шт.

7

14M7275

Nut

M12 (SUB FOR FFSB107245)

2шт.

8

12H301

Lock Washer

1/2" (SUB FOR FFSB107139)

3шт.

9

24M7047

Washer

13 X 24 X 2.500 mm (SUB FOR FFSB105797)

5шт.

10

19M8339

Screw

M10 X 55 (SUB FOR FFSB107524)

4шт.

11

AT264360

O-Ring

(SUB FOR FFSB109688, TH104930, 4506430)

1шт.

12

T116334

Lubrication Fitting

(SUB FOR FFSB109614)

2шт.

Выбрано товаров: 12