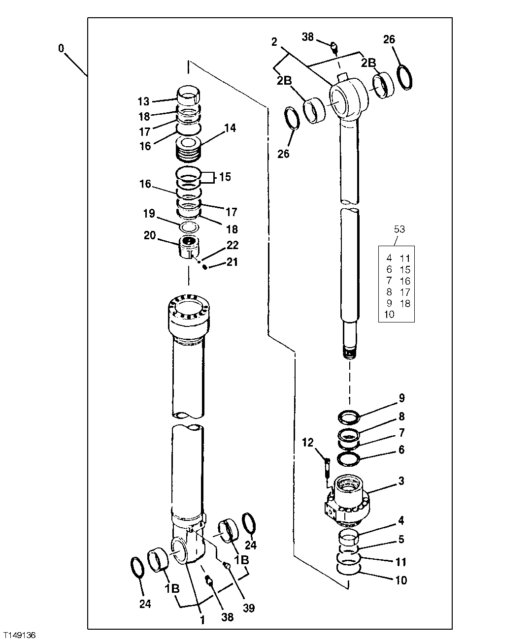
Запчасти John Deere 554 537 - Heeler And Valve In Head Tilt Cylinder (SN -200015) 3360 HYDRAULIC SYSTEM

Схема запчастей John Deere 554 - 537 - Heeler And Valve In Head Tilt Cylinder (SN -200015) 3360 HYDRAULIC SYSTEM
FIT
1:1
100%

Артикул

Название

Примечание

Количество

0

AH163278

Hydraulic Cylinder Reman

ROTATE HEAD 180° FOR VALVE IN HEAD SUB FOR FFSB109846, FFSB11 0159, FFSB109539 OR FFSB105486

1шт.

1

AH165676

Hydraulic Cylinder Barrel

1шт.

Hyd Cylinder Barrel Reman

PG201314 NLA

1шт.

1B

4352400

Bushing

SUB FOR AT213966

2шт.

2

AH165680

Rod

1шт.

Hyd Cylinder Rod Reman

PG201315 NLA

1шт.

2B

4352398

Bushing

SUB FOR AT213964

2шт.

3

H155162

Hydr. Cylinder Rod Guide

1шт.

4

TH109311

Wear Ring

1шт.

5

TH109312

Snap Ring

SUB FOR 0240904

1шт.

6

AH148777

Ring

1шт.

7

0240911

Packing

SUB FOR TH109314 OR 4S00189

1шт.

8

0240912

Back-Up Ring

SUB FOR TH109315 OR 4S00190

1шт.

9

H155867

Seal

1шт.

10

AT264223

O-Ring

SUB FOR AT121852 OR A811105

1шт.

11

AT264259

Back-Up Ring

SUB FOR AT153829

1шт.

12

19M8930

Screw

M14 X 65

12шт.

13

H155875

Ring

1шт.

14

H155876

Piston

1шт.

15

AT264386

Ring

SUB FOR TH106872 OR 0240915

1шт.

16

AT264262

Back-Up Ring

SUB FOR 0409008 OR AT153935

2шт.

17

H155873

Back-Up Ring

2шт.

18

0298907

Ring

SUB FOR 4S00156

2шт.

19

AT153937

Shim

SUB FOR 0409010

1шт.

20

H155879

Nut

1шт.

21

22M7009

Set Screw

M12 X 12

1шт.

22

T13624

Ball

7.145 mm (9/32")

1шт.

24

TH104472

Seal

SUB FOR AH140157

2шт.

26

TH102446

Seal

SUB FOR AH140158

2шт.

38

TH100074

Lubrication Fitting

2шт.

39

19M8017

Cap Screw

M12 X 20

2шт.

53

AH148776

Seal Kit

1шт.

Выбрано товаров: 32