Качественные детали и логистика
Оригинальные и аналоговые запчасти с доставкой по России, Казахстану и Беларуси
©2022 PartSell ООО "Система" ИНН 2463123282 ОГРН 1212400004838
Центральный офис: г. Красноярск, Академика Киренского, д.87, пом.4
Телефон: 8 (800) 777-65-74 Email: zakaz@partsell.ru
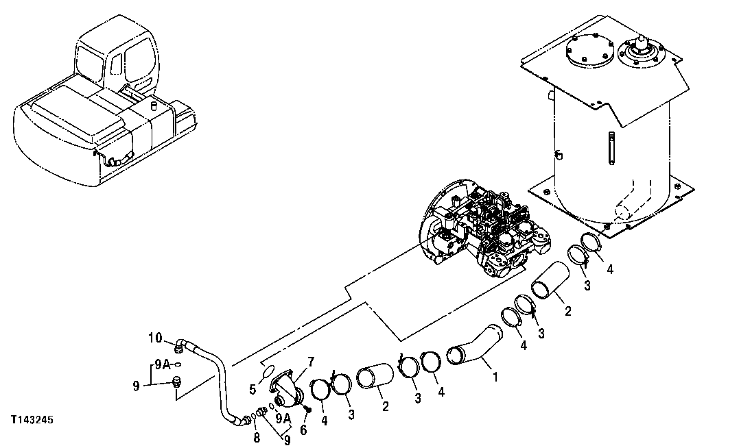
546 - HYDRAULIC RESERVOIR TO PUMP LOW PRESSURE HOSES AND LINES
№
Артикул
Название
Примечание
Количество
1
7039806
Line
(SUB FOR TH7039806)
1шт.
2
4348414
Hose
(SUB FOR AT176844)
2шт.
3
Z29925
Clamp
(SUB FOR AH103182)
4шт.
4
AT56658
Hose Clamp
5
CH17854
Packing
6
J781228
Bolt
(SUB FOR P61967 ) (SUB FOR AT214412)
7
2037825
Manifold
(SUB FOR AT176799)
8
T77858
O-Ring
18.771 X 1.778 mm (0.739" X 0.070")
9
A853166
Adapter Fitting
(SUB FOR THA853166)
9A
AT318035
(SUB FOR 4506424, TH100055)
10
4442642
Hydraulic Hose
(SUB FOR TH4442642)
Выбрано товаров: 0