Запчасти John Deere 554 593 - HEEL RACK AND PINS 3803 Grapple Mechanism

Схема запчастей John Deere 554 - 593 - HEEL RACK AND PINS 3803 Grapple Mechanism
FIT
1:1
100%

Артикул

Название

Примечание

Количество

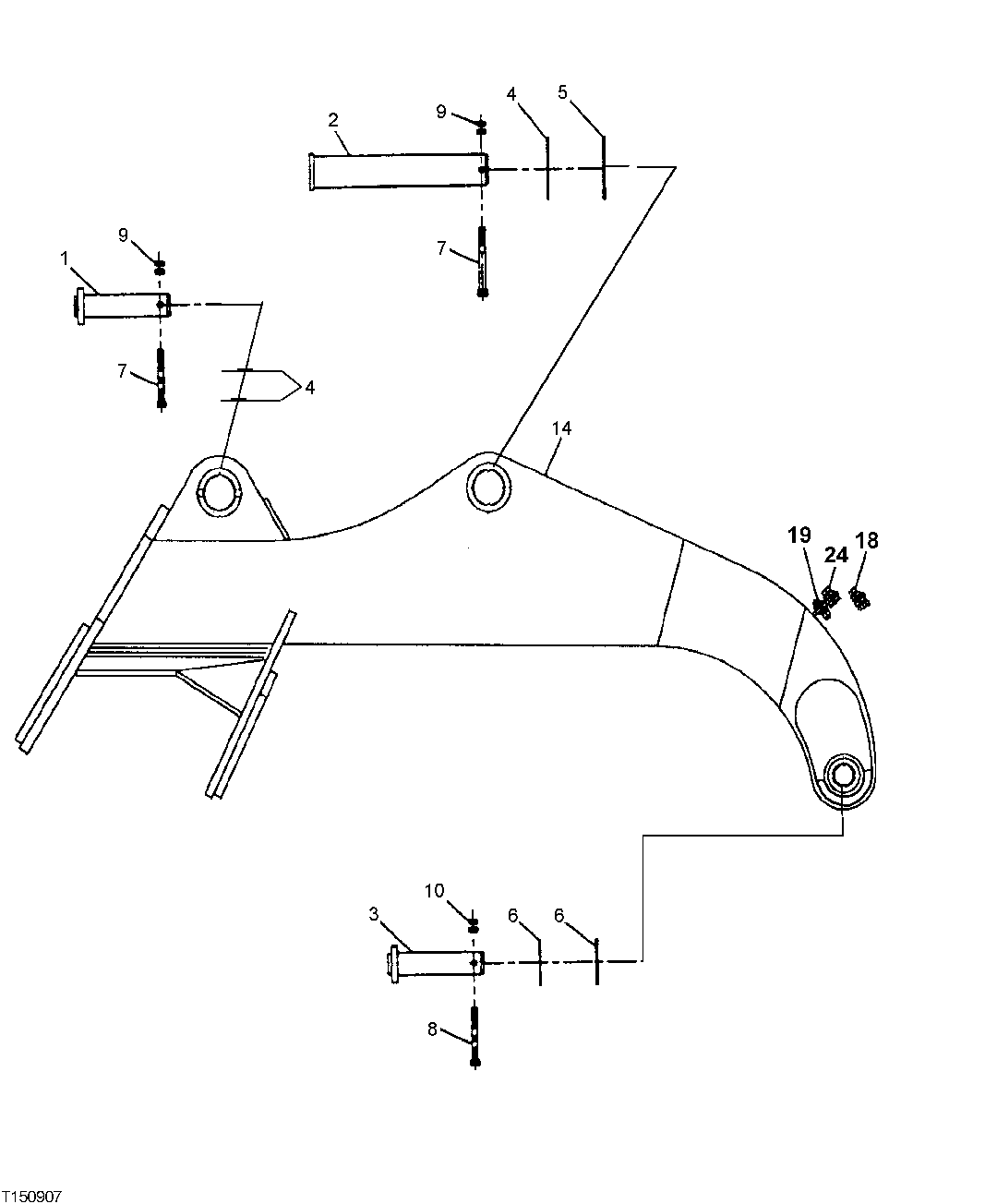
1

FFSB107290

Pin Fastener

1шт.

2

FF105537

Pin

(SUB FOR FFSB107291)

1шт.

3

FFSB107292

Pin Fastener

1шт.

4

TH104296

Washer

(SUB FOR FFSB108123)

3шт.

5

TH104297

Washer

(SUB FOR FFSB108124)

1шт.

6

4075357

Washer

(SUB FOR FFSB108129 ) (SUB FOR TH108944)

2шт.

7

19M8503

Cap Screw

M20 X 160 (SUB FOR FFSB109229)

2шт.

8

19M8043

Cap Screw

M16 X 140 (SUB FOR FFSB109220)

1шт.

9

14M7277

Nut

M20 (SUB FOR FFSB109330)

4шт.

10

14M7276

Nut

M16 (SUB FOR FFSB108865)

2шт.

14

FFSB102727

Arch

(HEELER)

1шт.

18

38H1276

Adapter Fitting

2шт.

T77858

O-Ring

2шт.

T78707

Nut

2шт.

19

38H1276

Adapter Fitting

(ALSO ORDER (2) T77857 AND (2) T78716)

2шт.

T77857

O-Ring

2шт.

T78716

Nut

2шт.

24

X6WLO-WLNL-S

Union Fitting

(SUB FOR FFSB103491)

1шт.

Выбрано товаров: 18