Запчасти John Deere 70CLC 97 - 1981 Oil Pan 0400B Engine 6068HT054-RE507967 6068HT054

Схема запчастей John Deere 70CLC - 97 - 1981 Oil Pan 0400B Engine 6068HT054-RE507967 6068HT054
FIT
1:1
100%

Артикул

Название

Примечание

Количество

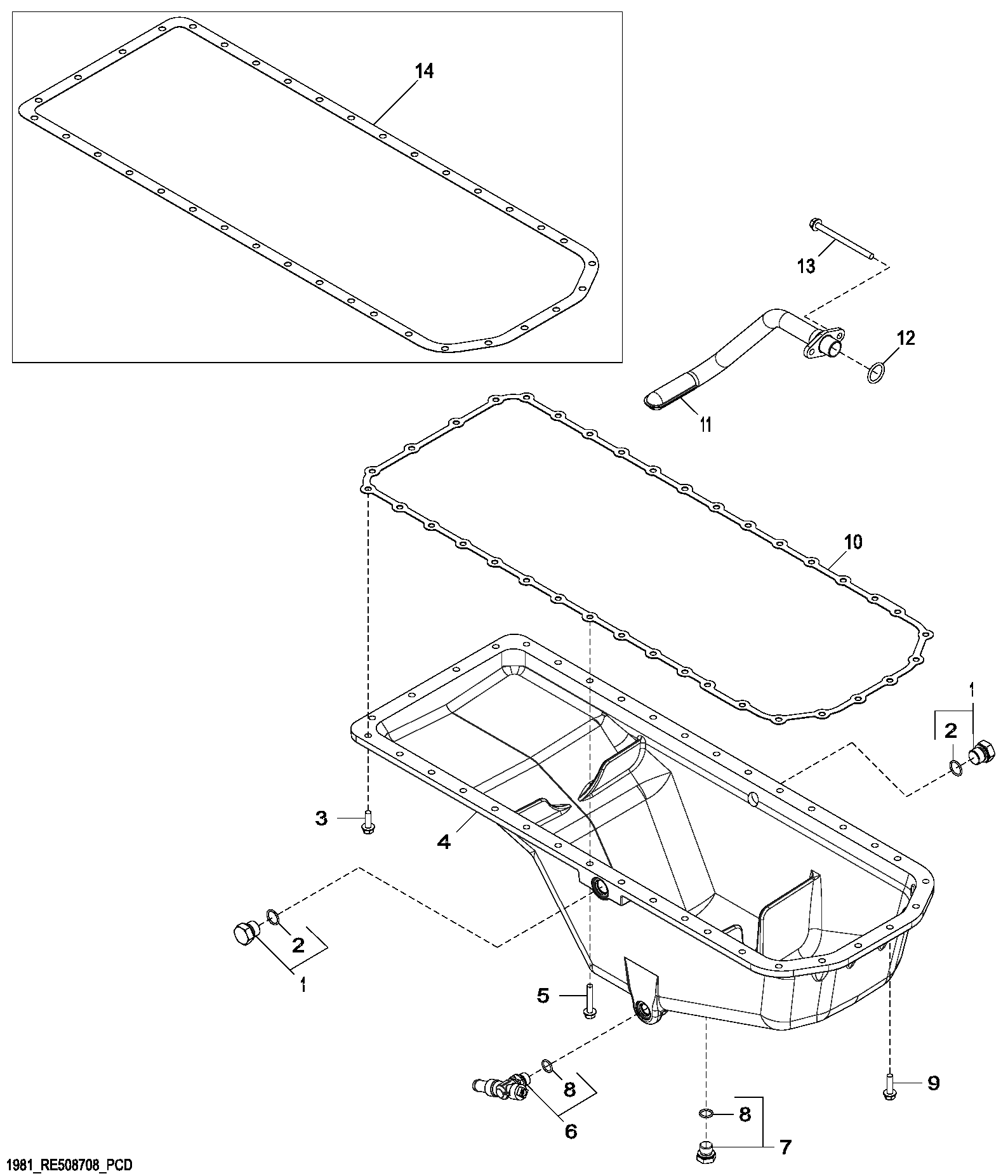
1

RE46687

Drain Plug

2шт.

2

51M7045

O-Ring

19.300 X 2.200 mm

2шт.

3

19M7867

Screw

M8 X 25

26шт.

4

R502969

Oil Pan

1шт.

5

19M7799

Screw

M8 X 45

4шт.

6

RE507952

Drain Valve

1шт.

7

RE46685

Fitting Plug

1шт.

8

51M7043

O-Ring

15.300 X 2.200 mm

2шт.

9

19M7868

Screw

M8 X 30

6шт.

10

R521498

Gasket

1шт.

11

RE69568

Oil Pump Intake

1шт.

12

R61871

O-Ring

1шт.

13

19M10075

Screw

M8 X 110

2шт.

14

R123354

Gasket

ORDER R521498

1шт.

Выбрано товаров: 14