Качественные детали и логистика
Оригинальные и аналоговые запчасти с доставкой по России, Казахстану и Беларуси
©2022 PartSell ООО "Система" ИНН 2463123282 ОГРН 1212400004838
Центральный офис: г. Красноярск, Академика Киренского, д.87, пом.4
Телефон: 8 (800) 777-65-74 Email: zakaz@partsell.ru
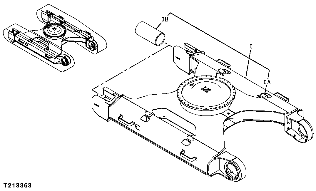
1 - TRACK FRAME
№
Артикул
Название
Примечание
Количество
0
5007618
Frame
(SUB FOR TH5007618)
1шт.
0A
4339137
Bracket
(SUB FOR AT192124)
4шт.
0B
4379845
Line
2шт.
0C
4337930
Weld Stud
Not Illustrated
8шт.
Выбрано товаров: 0