Запчасти John Deere 70CLC 143 - RADIATOR SUPPORT 0510 ENGINE COOLING SYSTEMS

Схема запчастей John Deere 70CLC - 143 - RADIATOR SUPPORT 0510 ENGINE COOLING SYSTEMS
FIT
1:1
100%

Артикул

Название

Примечание

Количество

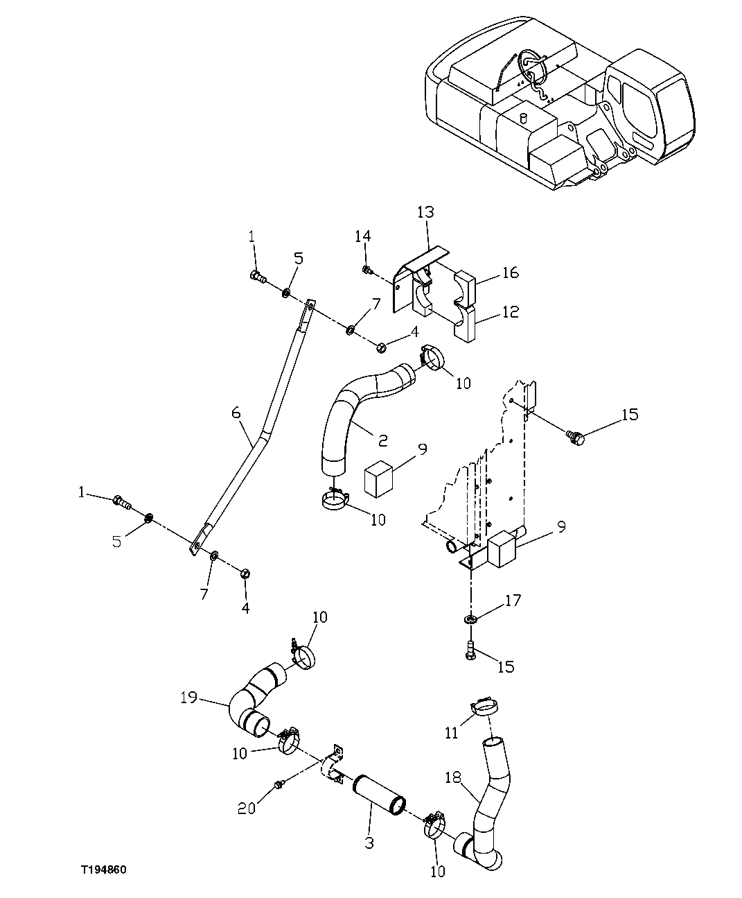
1

19M8035

Cap Screw

M16 X 35

2шт.

2

DH700038

Radiator Hose

SUB FOR THDH700038

1шт.

3

9748540

Line

SUB FOR AT218154

1шт.

4

14M7276

Nut

M16

2шт.

5

12H294

Lock Washer

5/8"

3шт.

6

3079124

Bracket

SUB FOR AT218151

1шт.

7

24M7053

Washer

17 X 30 X 3 mm

3шт.

9

DH400418

Isolator

SUB FOR THDH400418

2шт.

10

DH400620

Hose Clamp

SUB FOR THDH400103, TY22472 NOT USED FOR THIS APPLICATION

5шт.

11

TY22470

Clamp

SUB FOR THDH400102

1шт.

12

DH400433

Isolator

SUB FOR THDH400433

1шт.

13

DH800060

Cover

SUB FOR THDH800060

1шт.

14

19M7402

Cap Screw

M10 X 25

4шт.

12M7066

Lock Washer

10 mm

4шт.

24M7028

Washer

10.500 X 20 X 2 mm

4шт.

15

19M7489

Cap Screw

M16 X 45

6шт.

16

4384146

Isolator

SUB FOR AT318025, AT218202

1шт.

17

24M7241

Washer

17 X 34 X 4 mm SUB FOR TH101734 OR 4087197

4шт.

18

2047738

Radiator Hose

1шт.

19

3094013

Radiator Hose

1шт.

20

19M7935

Cap Screw

M10 X 55

2шт.

Выбрано товаров: 21