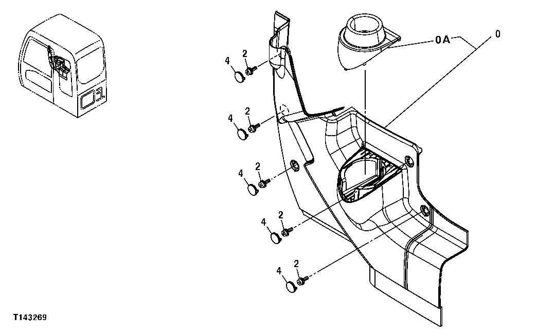
Запчасти John Deere 70CLC 198 - CAB INSIDE RIGHT COVER 1810 OPERATOR ENCLOSURE

Схема запчастей John Deere 70CLC - 198 - CAB INSIDE RIGHT COVER 1810 OPERATOR ENCLOSURE
FIT
1:1
100%

Артикул

Название

Примечание

Количество

0

4445917

Cover

(SUB FOR 4426352)

1шт.

0A

4445932

Holder

(SUB FOR 4445919)

1шт.

0B

4653923

Grille

(NOT ILLUSTRATED)

1шт.

2

19M8425

Cap Screw

M6 X 16

5шт.

12M7006

Lock Washer

6 mm

5шт.

24M7293

Washer

6.500 X 13 X 1.600 mm

5шт.

4

4426354

Cap

(SUB FOR TH4426354)

5шт.

Выбрано товаров: 7