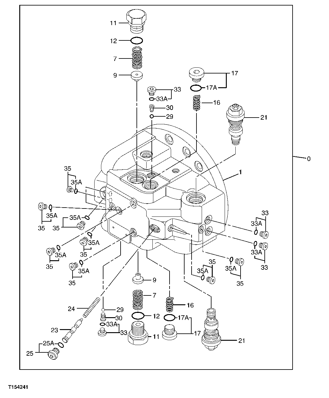
Запчасти John Deere 70CLC 21 - Propel Motor Brake Valve Components ( - XXXXXX) 0260 AXLES, DIFF. & SUSP. SYS. HYD. (INCL. FWD)

Схема запчастей John Deere 70CLC - 21 - Propel Motor Brake Valve Components ( - XXXXXX) 0260 AXLES, DIFF. & SUSP. SYS. HYD. (INCL. FWD)
FIT
1:1
100%

Артикул

Название

Примечание

Количество

0

9158391

Flow Control Hyd. Valve

(USE WITH 9156041, 9156041EX OR 9185360)

1шт.

1

Case

( 7032724 NSEP) (ORDER 9158391)

1шт.

9158391

Flow Control Hyd. Valve

1шт.

7

4276785

Compression Spring

(SUB FOR AT203613)

2шт.

9

4276691

Plug

(SUB FOR AT203614)

2шт.

11

4276526

Fitting Plug

(SUB FOR AT203615)

2шт.

12

TH101926

O-Ring

2шт.

16

4365007

Spring

(SUB FOR AT176033)

2шт.

17

9089488

Plug

(SUB FOR AT154847)

2шт.

17A

AT318035

O-Ring

(SUB FOR 4506424, TH100055)

2шт.

21

9134147

Pressure Relief Valve

2шт.

23

4354415

Valve Spool

(SUB FOR AT214454)

1шт.

24

4185136

Spring

(SUB FOR T107783)

1шт.

25

0311336

Pipe Plug

(SUB FOR TH109082)

1шт.

25A

CH11570

O-Ring

1шт.

29

R26552

Ball

2шт.

30

4311662

Valve Seat

(SUB FOR AT204877)

2шт.

33

4208977

Drain Plug

(SUB FOR TH111351)

4шт.

33A

M800650

Packing

1шт.

35

0215220

Fitting Plug

(SUB FOR TH101485)

10шт.

35A

4506408

O-Ring

(SUB FOR TH101490)

10шт.

Выбрано товаров: 21