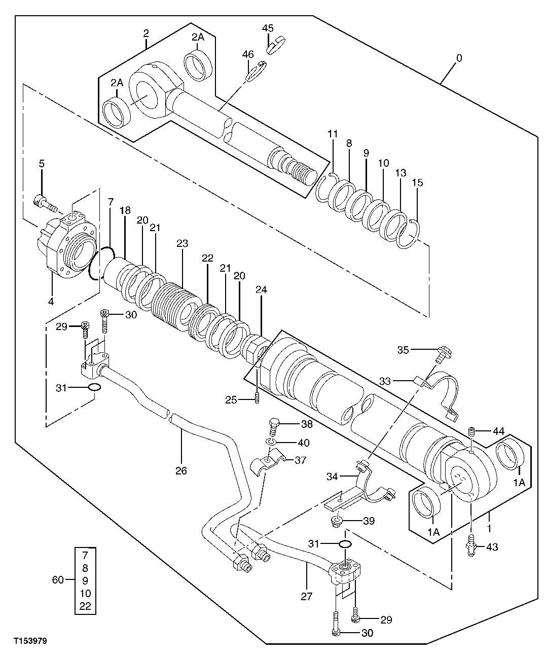
Запчасти John Deere 70CLC 371 - RIGHT BOOM CYLINDER (UNITS BUILT BEFORE AUGUST 2004) 3365 Hydraulic Cylinders

Схема запчастей John Deere 70CLC - 371 - RIGHT BOOM CYLINDER (UNITS BUILT BEFORE AUGUST 2004) 3365 Hydraulic Cylinders
FIT
1:1
100%

Артикул

Название

Примечание

Количество

0

9245978J

Hydraulic Cylinder

( 9206321EX, 9206321Y NLA) (SUB 9245978J)

1шт.

1

9206352

Hydraulic Cylinder Barrel

1шт.

1A

4364501

Bushing

(SUB FOR AT217799)

2шт.

2

4645903

Hydraulic Cylinder Rod

(SUB FOR TH7037671)

1шт.

2A

4364501

Bushing

(SUB FOR AT217799)

2шт.

4

TH1027956

Hydr. Cylinder Rod Guide

1шт.

5

19M8630

Screw

M24 X 80

8шт.

7

TH4439955

O-Ring

(K)

1шт.

8

AT264294

Seal

(K) (SUB FOR AT217969, 4348201)

1шт.

9

AT264408

Seal

(K) (SUB FOR TH111216)

1шт.

10

4389326

Ring

(K) (SUB FOR OR AT201003 AND AT264409)

1шт.

11

4369508

Ring

(SUB FOR AT217983)

1шт.

13

AT217959

Wear Ring

1шт.

15

4264982

Snap Ring

(SUB FOR AT131254)

1шт.

18

TH3089936

Ring

1шт.

20

AT264397

Ring

(SUB FOR TH110033)

2шт.

21

AT264266

Wear Ring

(SUB FOR AT154718)

2шт.

22

AT264297

Seal

(K) (SUB FOR AT218148)

1шт.

23

3052363

Piston

(SUB FOR AT217937)

1шт.

24

3063059

Nut

(SUB FOR AT217940)

1шт.

25

4201805

Set Screw

(SUB FOR TH110037)

1шт.

26

8083849

Oil Tube

(SUB FOR TH8083849)

1шт.

27

8049356

Oil Tube

(SUB FOR AT218003)

1шт.

29

19M8341

Screw

M12 X 45

4шт.

30

19M8444

Screw

M12 X 60

4шт.

31

AT264324

O-Ring

(SUB FOR TH100044)

2шт.

33

3088623

Clamp

(SUB FOR TH3088623)

1шт.

34

8079314

Clamp

(SUB FOR TH8079314)

1шт.

35

19M7550

Cap Screw

M10 X 35

2шт.

12M7066

Lock Washer

10 mm

2шт.

37

4229234

Clamp

(SUB FOR TH111990)

1шт.

38

19M8348

Cap Screw

M12 X 65

1шт.

39

14M7275

Nut

M12

1шт.

40

12H301

Lock Washer

1/2"

1шт.

43

TH100074

Lubrication Fitting

1шт.

44

T115963

Fitting Plug

1шт.

45

Isolator

(SUB FOR TH4451668)( 4451668 NLA)

1шт.

46

H77698

Tie Band

(SUB FOR TH4465818, 446 5818, 4323613, 4121859)

1шт.

60

4485615

Seal Kit

(SUB FOR TH9206355)

1шт.

Выбрано товаров: 39