Запчасти John Deere 70CLC 45 - 3110 3110 ALTERNATOR 0400A 270C LC EXCAVATOR 6068HT055-RE507964 6068HT055

Схема запчастей John Deere 70CLC - 45 - 3110 3110 ALTERNATOR 0400A 270C LC EXCAVATOR 6068HT055-RE507964 6068HT055
FIT
1:1
100%

Артикул

Название

Примечание

Количество

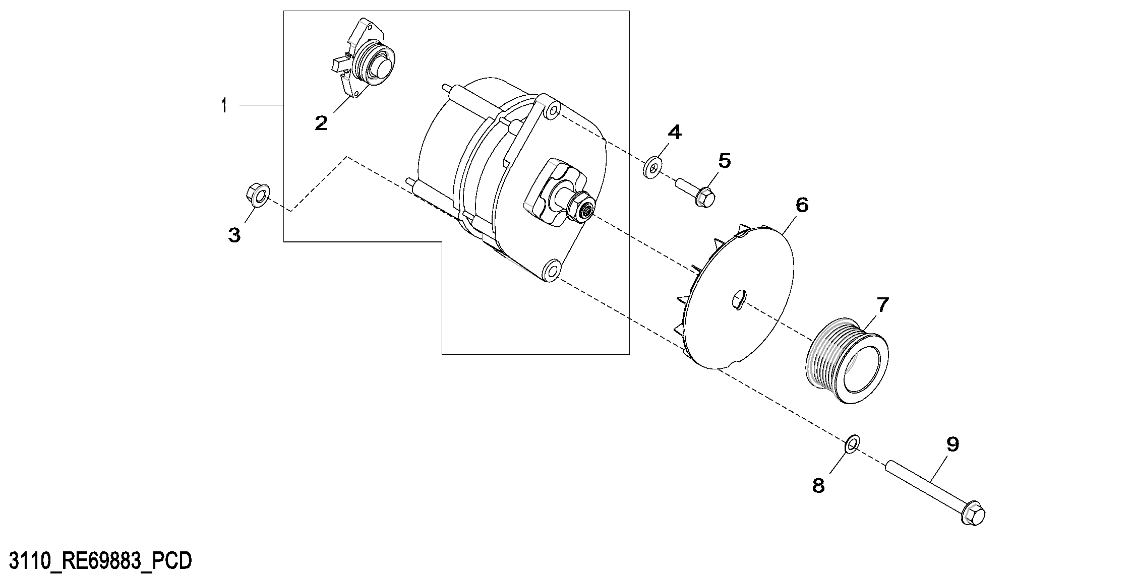
1

AT161324

Alternator

24 V, 45 A, BOSCH; SUB FOR AT185696; INCLUDES H144095

1шт.

AT185696

Alternator

24 V, 45 A, ORDER AT161324

1шт.

SE501341

Alternator Reman

24 V, 45 A, REMAN FOR AT161324 OR AT185696

1шт.

2

AT163156

Regulator

1шт.

3

14M7296

Flange Nut

M10

1шт.

4

R501065

Washer

1шт.

5

19M7868

Screw

M8 X 30

1шт.

6

T158584

Fan

1шт.

7

R501486

Pulley

1шт.

8

R64525

Thrust Washer

1шт.

9

19M7812

Screw

M10 X 100

1шт.

10

H144095

Capacitor

(A)

1шт.

Выбрано товаров: 12