Запчасти John Deere 70CLC 61 - 5903 Engine Oil Cooler 0400A 270C LC EXCAVATOR 6068HT055-RE507964 6068HT055

Схема запчастей John Deere 70CLC - 61 - 5903 Engine Oil Cooler 0400A 270C LC EXCAVATOR 6068HT055-RE507964 6068HT055
FIT
1:1
100%

Артикул

Название

Примечание

Количество

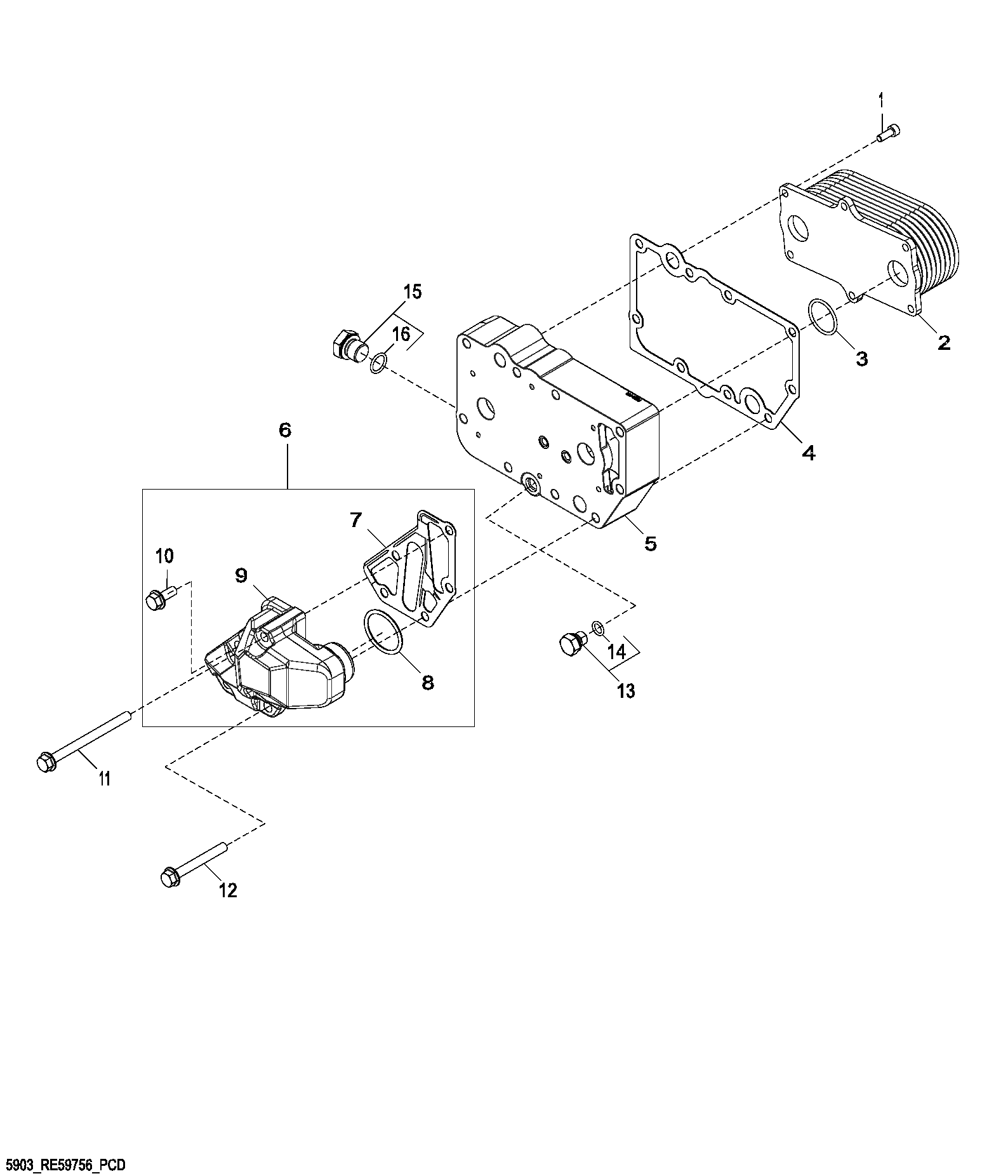
1

RE67231

Screw

Threads With Pre Applied Sealant

6шт.

2

RE560754

Oil Cooler

9 Plates SUB FOR RE59298

1шт.

3

T122075

O-Ring

2шт.

4

R123501

Gasket

1шт.

5

R521037

Housing

SUB FOR R123471

1шт.

6

RE508599

Adapter Fitting

1шт.

7

R501428

Gasket

1шт.

8

R504734

O-Ring

SUB FOR APPL R61105

1шт.

9

DZ105608

Adapter

MARKED DZ105607; SUB FOR R502811 OR R135177

1шт.

10

RE67238

Screw

Threads With Pre Applied Sealant

1шт.

11

19M7970

Screw

M8 X 100

2шт.

12

19M7802

Screw

M8 X 65

2шт.

13

RE46686

Fitting

1шт.

14

51M7040

O-Ring

9.300 X 2.200 mm

1шт.

15

RE46685

Fitting Plug

1шт.

16

51M7043

O-Ring

15.300 X 2.200 mm

1шт.

Выбрано товаров: 16