Качественные детали и логистика
Оригинальные и аналоговые запчасти с доставкой по России, Казахстану и Беларуси
©2022 PartSell ООО "Система" ИНН 2463123282 ОГРН 1212400004838
Центральный офис: г. Красноярск, Академика Киренского, д.87, пом.4
Телефон: 8 (800) 777-65-74 Email: zakaz@partsell.ru
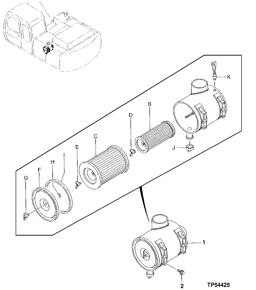
80 - Air Cleaner
№
Артикул
Название
Примечание
Количество
1
4288047
Air Cleaner
(SUB FOR AT155622)
1шт.
1B
T52224
Air Filter
1C
T52223
1D
AH20849
Wing Nut
1E
AR73234
11.125 mm (7/16")
1F
AT50529
Cover
1G
T251578
(SUB FOR AR73234, THIS APPLICATION)
1H
P46402
Snap Ring
1I
2030811
Gasket
(SUB FOR T52222)
1J
4152863
Flow Control Hyd. Valve
(SUB FOR TH111700)
1K
4224238
Indicator
(SUB FOR AT131922)
2
19M7662
Cap Screw
M10 X 30
4шт.
12M7066
Lock Washer
10 mm
24M7028
Washer
10.500 X 20 X 2 mm
Выбрано товаров: 0