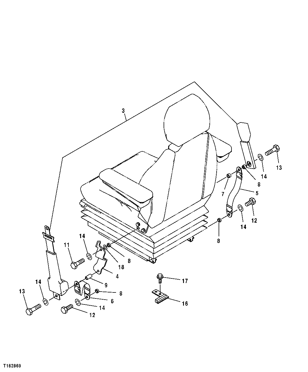
Запчасти John Deere 70LC 136 - SEAT BELT (REPLACEMENT SEAT) 1821 SEAT AND SEAT BELT

Схема запчастей John Deere 70LC - 136 - SEAT BELT (REPLACEMENT SEAT) 1821 SEAT AND SEAT BELT
FIT
1:1
100%

Артикул

Название

Примечание

Количество

3

4384239

Seat Belt

1шт.

4

7042657

Bracket

1шт.

5

4382410

Strap

1шт.

6

4453869

Seat Belt

1шт.

7

4453874

Spacer

1шт.

8

4372200

Spacer

(SUB FOR P60915)

3шт.

9

4382432

Sleeve

1шт.

11

4333835

Bolt

1шт.

12

19H3187

Cap Screw

7/16" X 1-1/2" (SUB FOR 4235232)

2шт.

13

4380534

Cap Screw

2шт.

14

12H293

Lock Washer

7/16" (SUB FOR J219167)

5шт.

16

9756736

Bracket

1шт.

17

19M7402

Cap Screw

M10 X 25

2шт.

12M7066

Lock Washer

10 mm

2шт.

18

24M7047

Washer

13 X 24 X 2.500 mm

1шт.

Выбрано товаров: 15