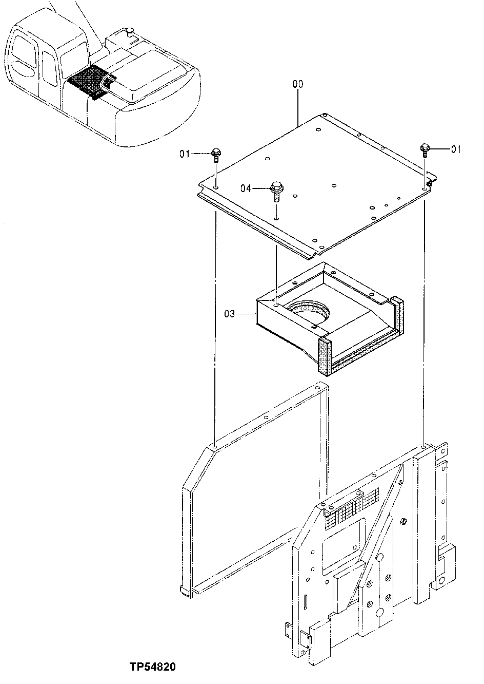
Запчасти John Deere 70LC 161 - Cover 1910 Hood Or Engine Enclosure

Схема запчастей John Deere 70LC - 161 - Cover 1910 Hood Or Engine Enclosure
FIT
1:1
100%

Артикул

Название

Примечание

Количество

0

7033184

Cover

(SUB FOR AT218192)

1шт.

1

19M7662

Cap Screw

M10 X 30

6шт.

24M7028

Washer

10.500 X 20 X 2 mm

6шт.

12M7066

Lock Washer

10 mm

6шт.

3

7032021

Cover

(SUB FOR AT215584)

1шт.

4

19M7402

Cap Screw

M10 X 25

5шт.

12M7058

Lock Washer

12 mm (SUB FOR 12M7067)

5шт.

24M7346

Washer

11 X 20 X 2 mm

5шт.

Выбрано товаров: 8