Запчасти John Deere 70LC 12 - Track Link 0130 Track Systems

Схема запчастей John Deere 70LC - 12 - Track Link 0130 Track Systems
FIT
1:1
100%

Артикул

Название

Примечание

Количество

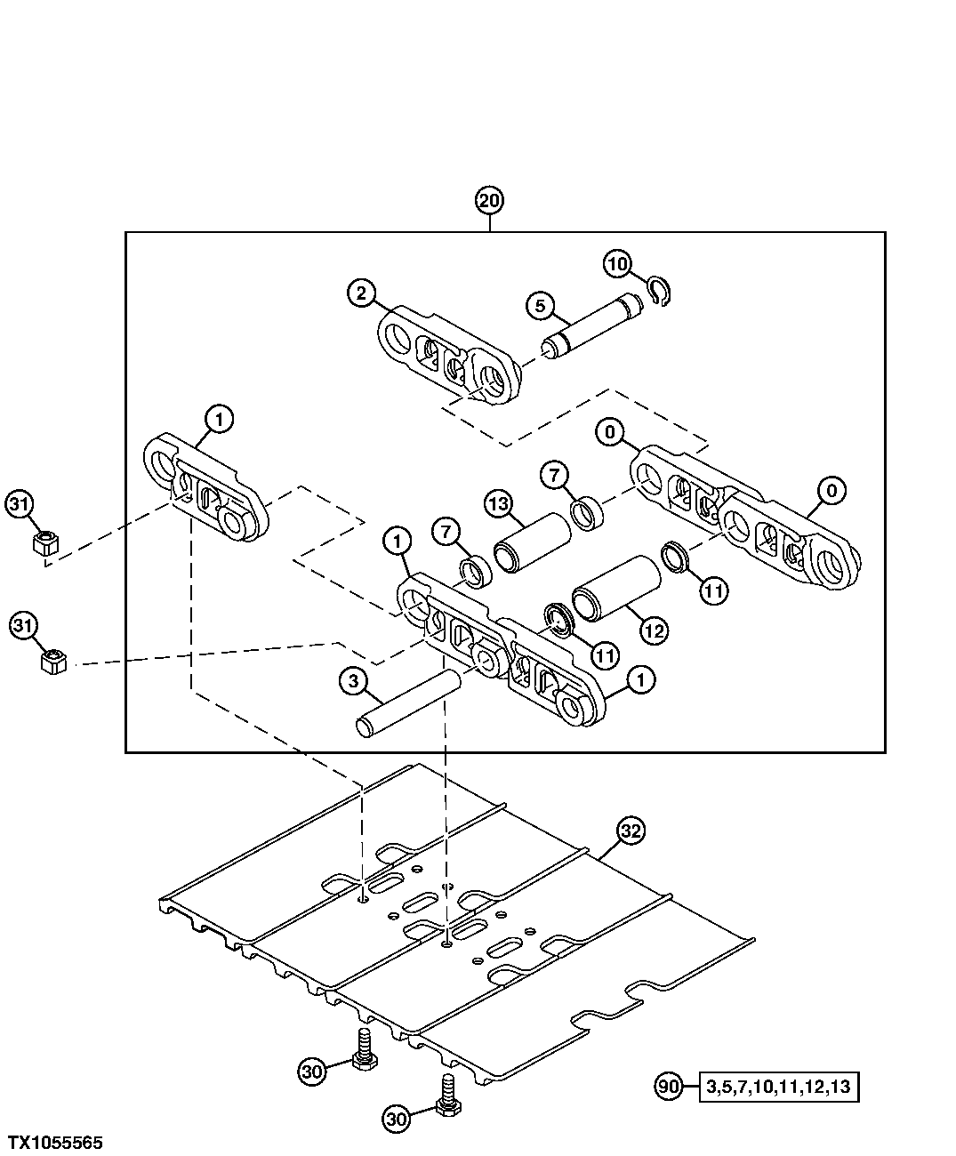
0

AT159075

Link

49шт.

1

AT159076

Link

50шт.

2

AT159077

Link

(MASTER)

1шт.

3

AT130913

Pin Fastener

44.450 X 245 mm (1-3/4" X 9.646") (QUANTITY OF 45 PROVIDED IN KIT)

49шт.

5

AT159078

Master Track Pin

(MASTER - NON HEADED PIN)

1шт.

7

AT159079

Bushing

45.100 X 66.700 X 13.500 mm (1.776" X 2.626" X 17/32")

2шт.

10

T210813

Snap Ring

(SUB FOR TH111227)(SUB T238670 IF 463276 3 MASTER LINK IS USED ON AT314410 CHAIN)

1шт.

11

FFSB112367

Seal

(SUB FOR 4350562 OR AT171645)( QUANTITY OF 92 PROVIDED IN KIT)

98шт.

12

TH103167

Bushing

45.250 X 66.650 X 158 mm (1-25/32" X 2.624" X 6.220") (QUANTITY OF 45 PROVIDED IN KIT)

49шт.

13

AT159080

Bushing

45.150 X 66.550 X 148.800 mm (1. 778" X 2.620" X 5.858") (MASTER)

1шт.

20

AT317804

Track Chain W/O Shoes

(SUB FOR AT159074, AT186168 OR 9180909)

1шт.

30

4143721

Bolt

(SUB FOR TH103173)

200шт.

31

3060205

Nut

(SUB FOR T144338)

200шт.

32

2017537

Open Center 3 Bar Shoe

(SUB FOR TH103174)(600 MM - 24 INCH)

50шт.

2016578

Open Center 3 Bar Shoe

(SUB FOR TH103265)(800 MM - 31 INCH)

50шт.

90

Pin & Bushing Kit

(SUB FOR AT187186)

1шт.

Выбрано товаров: 16