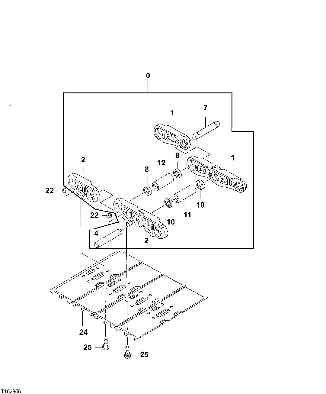
Запчасти John Deere 7C ZTS 3 - TRACK CHAIN LINK ASSEMBLY AND SHOES (STANDARD DRAWBAR) 0130 TRACK SYSTEMS

Схема запчастей John Deere 7C ZTS - 3 - TRACK CHAIN LINK ASSEMBLY AND SHOES (STANDARD DRAWBAR) 0130 TRACK SYSTEMS
FIT
1:1
100%

Артикул

Название

Примечание

Количество

0

FFSB111212

Track Chain W/O Shoes

(QUANTITY OF 1 EACH SIDE OF UNIT)

1шт.

1

AT219480

Strutted LINK-RH

NLA, SUB 0005251R, SUB FOR FFSB113381, RH

51шт.

0005251R

Track Link

RH

51шт.

2

AT219481

Strutted LINK-LH

NLA, SUB 0005252R, SUB FOR FFSB113382, LH

51шт.

0005252R

Track Link

LH

51шт.

4

AT180030

Pin Fastener

SUB FOR FFSB113388 Chain Master Pin

1шт.

7

AT180028

Pin Fastener

(SUB FOR FFSB113385)

50шт.

8

AT186161

Seal

(SUB FOR FFSB113384)

102шт.

10

AT219471

Spacer

SUB FOR FFSB113387 Master Link Spacer

2шт.

11

AT219468

Bushing

SUB FOR FFSB113386 Master Link Bushing

1шт.

12

AT186162

Bushing

(SUB FOR FFSB113383)

50шт.

22

T139615

Nut

SUB FOR FFSB111196 Each Side Of Unit

204шт.

24

FFSB113209

Double Bar Shoe

Each Side Of Unit

51шт.

25

T142594

Track Bolt

SUB FOR FFSB111195 Each Side Of Unit

204шт.

Выбрано товаров: 14