Запчасти John Deere 7C ZTS 4 - TRACK CHAIN LINK ASSEMBLY AND SHOES (HIGH DRAWBAR) 0130 TRACK SYSTEMS

Схема запчастей John Deere 7C ZTS - 4 - TRACK CHAIN LINK ASSEMBLY AND SHOES (HIGH DRAWBAR) 0130 TRACK SYSTEMS
FIT
1:1
100%

Артикул

Название

Примечание

Количество

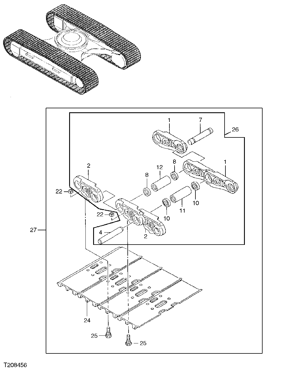
1

FFSB112364

Chain Link

(RH)

48шт.

2

FFSB112365

Chain Link

(LH)

48шт.

4

FFSB112368

Pin Fastener

46шт.

7

FFSB112371

Pin Fastener

Master Pin

1шт.

8

FFSB112370

Spacer

Master

2шт.

10

FFSB112367

Seal

190шт.

11

FFSB112369

Bushing

Master

1шт.

12

FFSB112366

Bushing

46шт.

13

Pin & Bushing Kit

Not Available For Heavy Duty Track Chain

1шт.

22

FFSB108840

Nut

(EACH SIDE OF UNIT)

192шт.

24

FFSB108841

Double Bar Shoe

700 mm, Double Bar Shoe Each Side Of Unit

48шт.

FFSB112381

Double Bar Shoe

(EACH SIDE OF UNIT) (9 00 MM DOUBLE BAR SHOE)

48шт.

FFSB113248

Single Bar Shoe

(EACH SIDE OF UNIT) (7 00 MM SINGLE BAR SHOE)

48шт.

FFSB113283

Triple Bar Shoe

(EACH SIDE OF UNIT) (9 00 MM TRIPLE BAR SHOE)

48шт.

25

FFSB108843

Track Bolt

(EACH SIDE OF UNIT)

192шт.

26

FFSB111193

Track Chain W/O Shoes

(QUANTITY OF 1 EACH SIDE OF UNIT)

2шт.

27

FFSB111192

Track Assembly With Shoes

(QUANTITY OF 1 EACH SIDE OF UNIT ) (WITH 700 MM DOUBLE BAR SHOES)

2шт.

FFSB112379

Track Assembly With Shoes

(QUANTITY OF 1 EACH SIDE OF UNIT ) (WITH 900 MM DOUBLE BAR SHOES)

2шт.

FFSB113246

Track Assembly With Shoes

(QUANTITY OF 1 EACH SIDE OF UNIT ) (WITH 700 MM SINGLE BAR SHOES)

2шт.

FFSB113281

Track Assembly With Shoes

(QUANTITY OF 1 EACH SIDE OF UNIT ) (WITH 900 MM TRIPLE BAR SHOES)

2шт.

Выбрано товаров: 20