Запчасти John Deere 7C ZTS 5 - HEAVY DUTY TRACK CHAIN LINK ASSEMBLY AND SHOES (HIGH DRAWBAR) 0130 TRACK SYSTEMS

Схема запчастей John Deere 7C ZTS - 5 - HEAVY DUTY TRACK CHAIN LINK ASSEMBLY AND SHOES (HIGH DRAWBAR) 0130 TRACK SYSTEMS
FIT
1:1
100%

Артикул

Название

Примечание

Количество

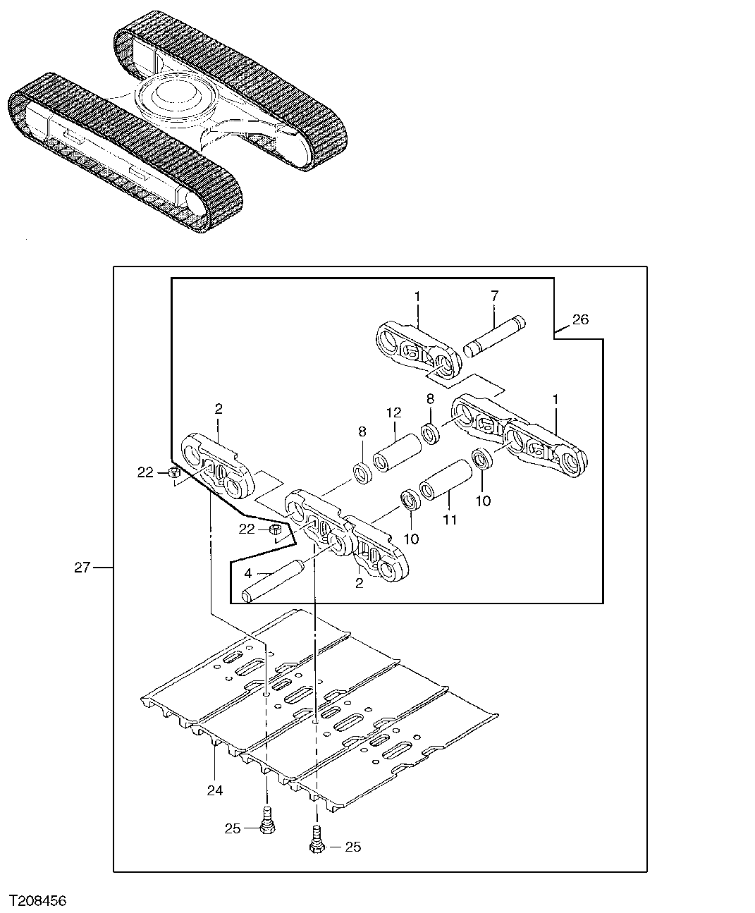
1

T189334

Track Link

RH (SUB FOR FFSB114322)

48шт.

2

T189335

Track Link

LH (SUB FOR FFSB114323)

48шт.

4

FF212908

Pin

46шт.

7

FF212907

Pin

SUB FOR FFSB114329 Master Pin

1шт.

8

FFSB114328

Spacer

Master

2шт.

10

FFSB114325

Seal

190шт.

11

FFSB114324

Track Bushing

(OD 68 MM)

46шт.

12

FFSB114327

Master Track Bushing

Master

1шт.

13

Pin & Bushing Kit

Not Available For Heavy Duty Track Chain

1шт.

22

FFSB114333

Nut

(EACH SIDE OF UNIT) (16.5 MM)

192шт.

24

FFSB114334

Triple Bar Shoe

(850 MM) Each Side Of Unit

48шт.

FF102174

Single Bar Shoe

(EACH SIDE OF UNIT) (660 MM)

48шт.

FFSB115572

Double Bar Shoe

(EACH SIDE OF UNIT) (700 MM)

48шт.

FF102177

Triple Bar Shoe

(EACH SIDE OF UNIT) (800 MM)

48шт.

25

FFSB114332

Track Bolt

(EACH SIDE OF UNIT) (16.5 MM X 70 MM)

192шт.

26

FF212911

Link Chain

(SUB FOR FFSB114321)(QUANTITY OF 1 EACH SIDE OF UNIT) (HEAVY DUTY) (MUS T HAVE SPROCKET FOR BUSHING OD 68 MM )

2шт.

27

FFSB114330

Track Assembly With Shoes

(QUANTITY OF 1 EACH SIDE OF UNIT) ( HEAVY DUTY) (WITH 850 MM SHOES) (MUS T HAVE SPROCKET FOR BUSHING OD 68 MM )

2шт.

AT279248

Track Assembly With Shoes

(SUB FOR FF101620)(QUANTITY OF 1 EACH SID E OF UNIT) (HEAVY DUTY) (WITH 660 MM SHOES ) (MUST HAVE SPROCKET FOR BUSHING OD 68 MM )

2шт.

FFSB115570

Track Assembly With Shoes

(QUANTITY OF 1 EACH SIDE OF UNIT) ( HEAVY DUTY) (WITH 700 MM SHOES) (MUS T HAVE SPROCKET FOR BUSHING OD 68 MM )

2шт.

FF101619

Track Assembly With Shoes

(QUANTITY OF 1 EACH SIDE OF UNIT) ( HEAVY DUTY) (WITH 800 MM SHOES) (MUS T HAVE SPROCKET FOR BUSHING OD 68 MM )

2шт.

Выбрано товаров: 20