Запчасти John Deere 7C ZTS 315 - REAR ENTRY CAB HEATER AND AIR CONDITIONER WIRING HARNESS 1674C REAR ENTRY CAB WIRING HARNESS AND SWITCHES

Схема запчастей John Deere 7C ZTS - 315 - REAR ENTRY CAB HEATER AND AIR CONDITIONER WIRING HARNESS 1674C REAR ENTRY CAB WIRING HARNESS AND SWITCHES
FIT
1:1
100%

Артикул

Название

Примечание

Количество

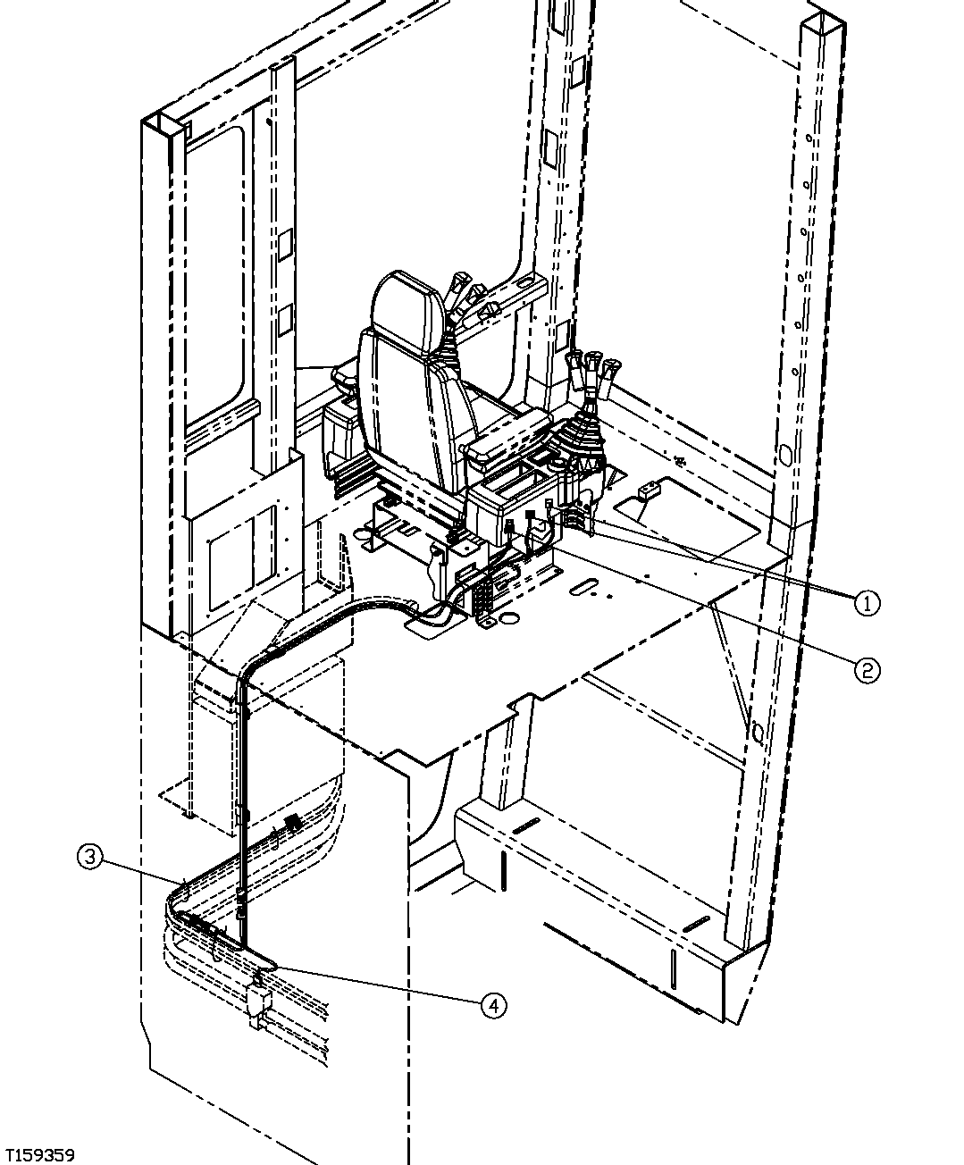
1

FFSB112135

Wiring Harness

1шт.

2

FFSB103726

Wiring Harness

1шт.

3

H77698

Tie Band

(SUB FOR FFSB108110)

3шт.

4

FFSB113455

Wiring Harness

(HEATER VALVE WIRING HARNESS)

1шт.

Выбрано товаров: 4