Качественные детали и логистика
Оригинальные и аналоговые запчасти с доставкой по России, Казахстану и Беларуси
©2022 PartSell ООО "Система" ИНН 2463123282 ОГРН 1212400004838
Центральный офис: г. Красноярск, Академика Киренского, д.87, пом.4
Телефон: 8 (800) 777-65-74 Email: zakaz@partsell.ru
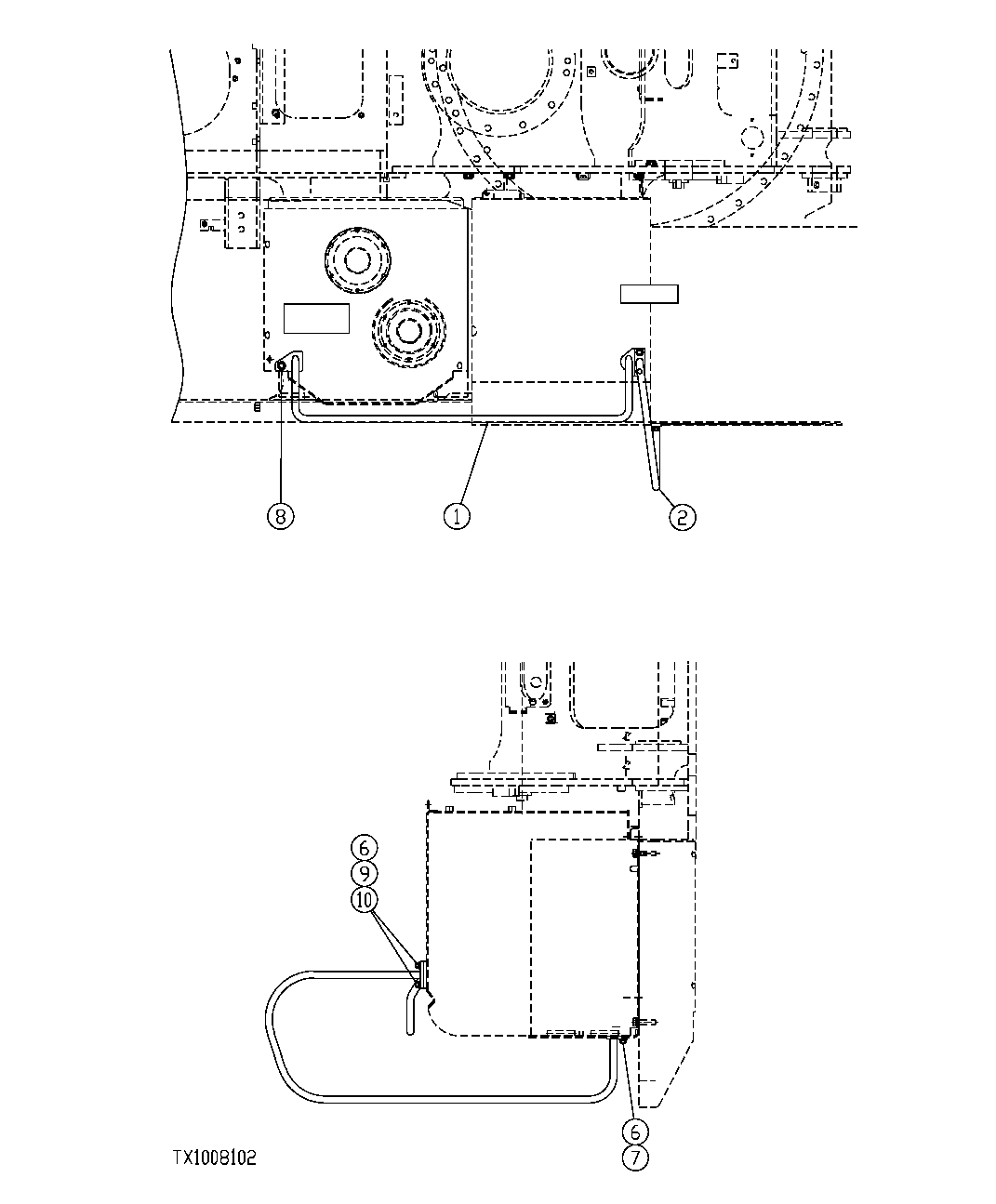
346 - BASE MACHINE RIGHT HANDRAILS
№
Артикул
Название
Примечание
Количество
1
FFSB110947
Handrail
1шт.
2
FFSB110891
6
24M7047
Washer
13 X 24 X 2.500 mm (SUB FOR FFSB105797)
3шт.
7
19M7403
Cap Screw
M12 X 35 (SUB FOR FFSB107128)
8
19M7550
M10 X 35 (SUB FOR FFSB109179)
9
19M7361
M12 X 50 (SUB FOR FFSB109214)
2шт.
10
12M7067
Lock Washer
12 mm (SUB FOR FFSB107911)
Выбрано товаров: 0