Качественные детали и логистика
Оригинальные и аналоговые запчасти с доставкой по России, Казахстану и Беларуси
©2022 PartSell ООО "Система" ИНН 2463123282 ОГРН 1212400004838
Центральный офис: г. Красноярск, Академика Киренского, д.87, пом.4
Телефон: 8 (800) 777-65-74 Email: zakaz@partsell.ru
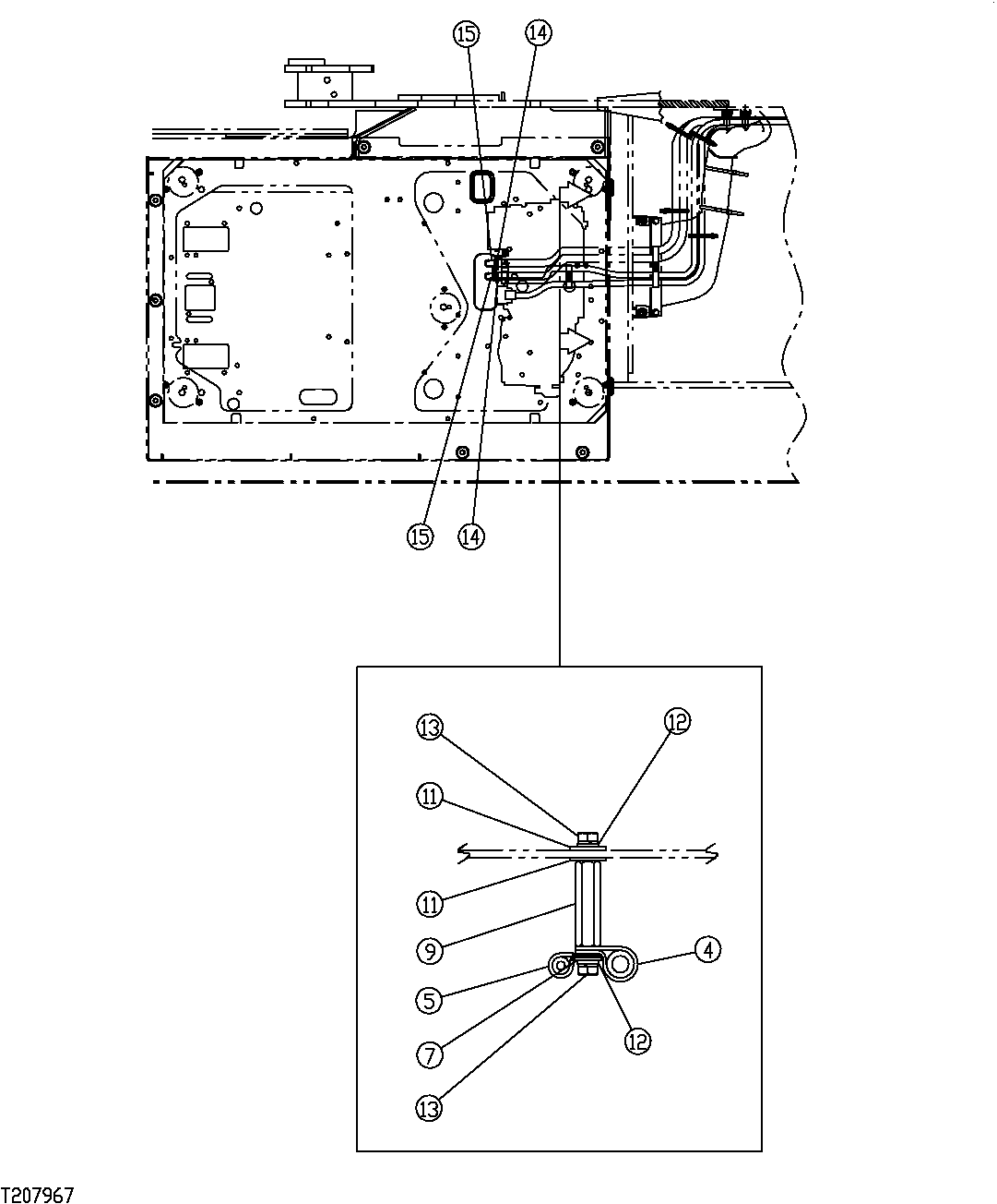
353 - AIR CONDITIONER AND HEATER HOSES AND CLAMPS (7 INCH RISER)
№
Артикул
Название
Примечание
Количество
4
XCL-17
Hose Clamp
(SUB FOR FFSB105439)
1шт.
5
F053301
Holder
(SUB FOR FFSB102835)
7
24M7096
Washer
10.500 X 18 X 1.600 mm (SUB FOR FFSB107709)
9
FFSB107369
Nut
11
24M7101
11 X 34 X 3 mm (SUB FOR FFSB111358)
2шт.
12
12M7066
Lock Washer
10 mm (SUB FOR FFSB107409)
13
19M7576
Screw
M10 X 30 (SUB FOR FFSB109271 OR J781030)
14
FFSB110329
Adapter Fitting
15
FFSB102829
Clamp
Выбрано товаров: 0