Качественные детали и логистика
Оригинальные и аналоговые запчасти с доставкой по России, Казахстану и Беларуси
©2022 PartSell ООО "Система" ИНН 2463123282 ОГРН 1212400004838
Центральный офис: г. Красноярск, Академика Киренского, д.87, пом.4
Телефон: 8 (800) 777-65-74 Email: zakaz@partsell.ru
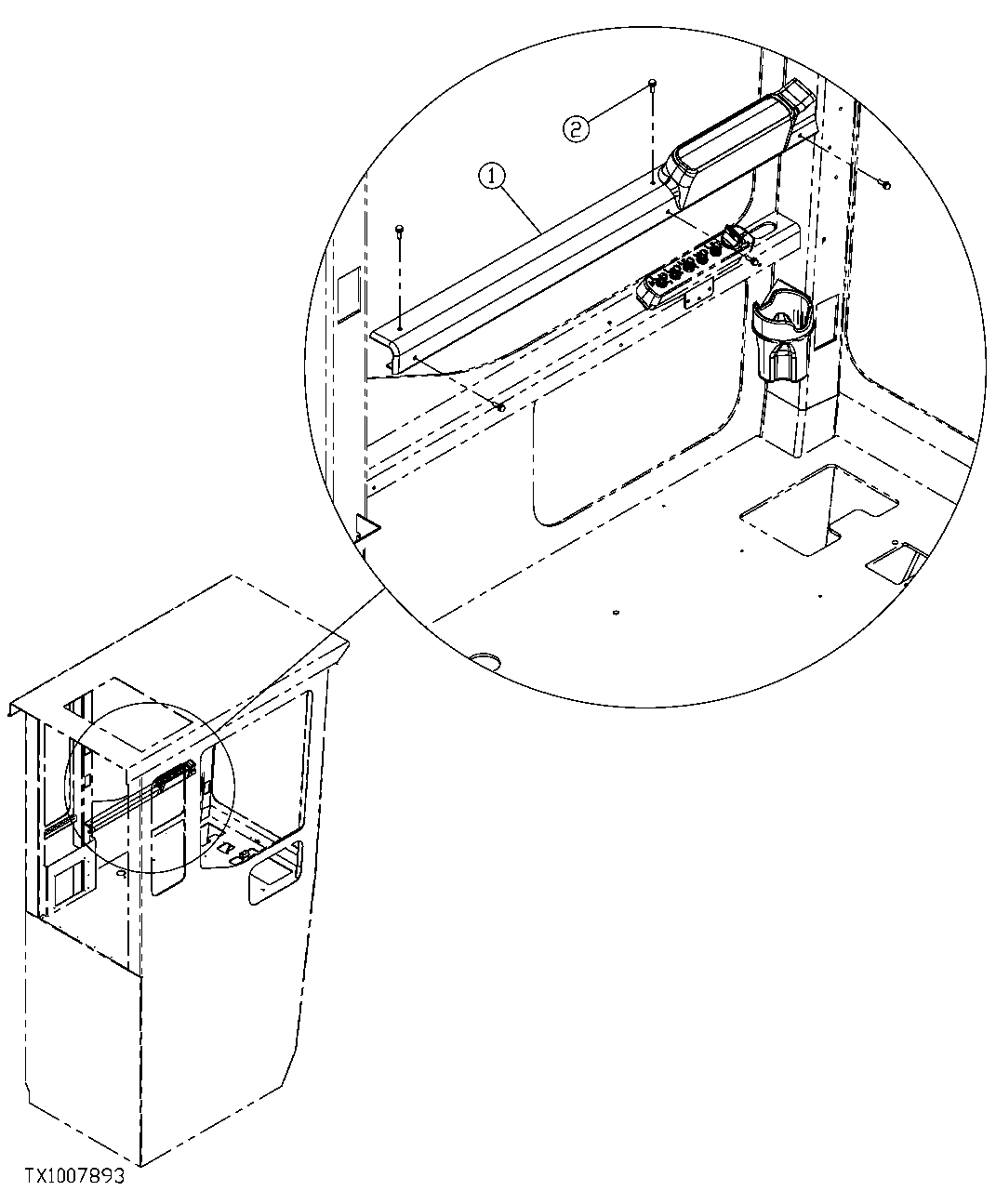
405 - REAR ENTRY CAB CONTROL PANEL CONSOLE COVER
№
Артикул
Название
Примечание
Количество
1
FFSB112065
Cover
1шт.
2
19M8425
Cap Screw
M6 X 16 (SUB FOR FFSB107135 AND J460616)
5шт.
24M7293
Washer
6.500 X 13 X 1.600 mm (SUB FOR FFSB107135 AND J460616)
12M7006
Lock Washer
6 mm (SUB FOR FFSB107135 AND J460616)
Выбрано товаров: 0