Запчасти John Deere 7C ZTS 418 - REAR ENTRY CAB LOWER WIPER ASSEMBLY 1810C REAR ENTRY CAB

Схема запчастей John Deere 7C ZTS - 418 - REAR ENTRY CAB LOWER WIPER ASSEMBLY 1810C REAR ENTRY CAB
FIT
1:1
100%

Артикул

Название

Примечание

Количество

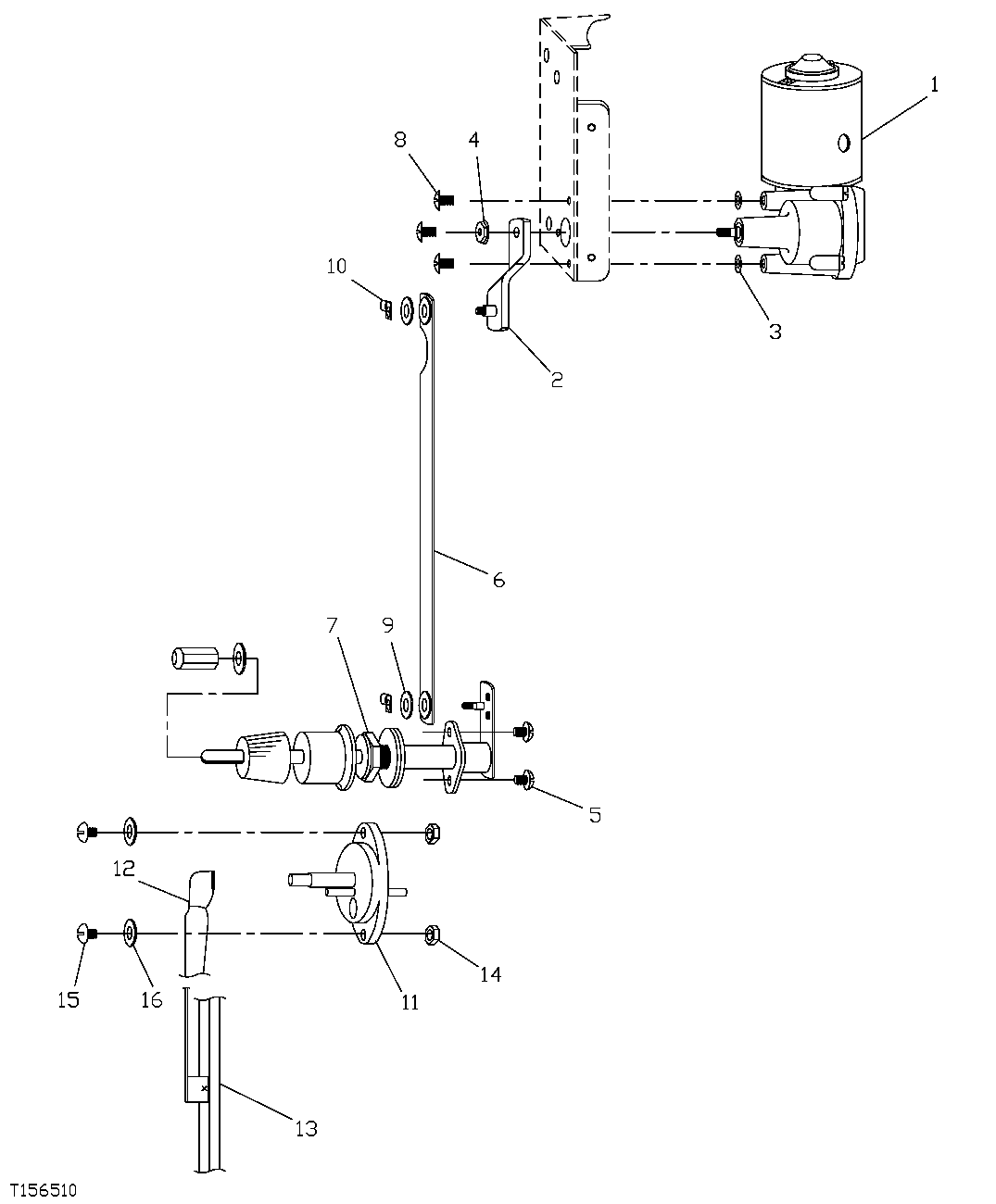
1

FFSB115016

Wiper Motor

SUB FOR FFSB107836

1шт.

2

FFSB102153

Wiper Arm

1шт.

3

24M7054

Washer

6.400 X 12 X 1.600 mm SUB FOR FFSB107839

3шт.

24M7054

Washer

6.400 X 12 X 1.600 mm

3шт.

4

14H785

Nut

5/16" SUB FOR FFSB109291

1шт.

5

21H1298

Screw

0.190" X 3/8" FFSB107837 NLA

2шт.

12M7060

Washer

5.300 mm

2шт.

6

FFSB102159

Link

1шт.

7

FFSB102154

Shaft

1шт.

8

M42626

Bolt

FFSB107838 NLA

3шт.

9

FFSB107852

Spacer

2шт.

10

FFSB107840

Clip

2шт.

11

FFSB107870

Adapter Fitting

1шт.

12

FFSB107451

Wiper Arm

Contains Mounting Hardwar e, Not Serviced Separately

1шт.

13

FFSB107452

Wiper Blade

1шт.

14

K40001

Lock Nut

FFSB102853 NLA

2шт.

15

19H1914

Cap Screw

1/4" X 1" SUB FOR FFSB109236

2шт.

16

24H1287

Washer

9/32" X 5/8" X 0.065" SUB FOR FFSB109336

2шт.

Выбрано товаров: 18